Запчасти Komatsu GD625A-1 АККУМУЛЯТОР КОМПОНЕНТЫ ДВИГАТЕЛЯ И ЭЛЕКТРИКА

Схема запчастей Komatsu GD625A-1 - АККУМУЛЯТОР КОМПОНЕНТЫ ДВИГАТЕЛЯ И ЭЛЕКТРИКА
FIT
1:1
100%

Артикул

Название

Примечание

Количество

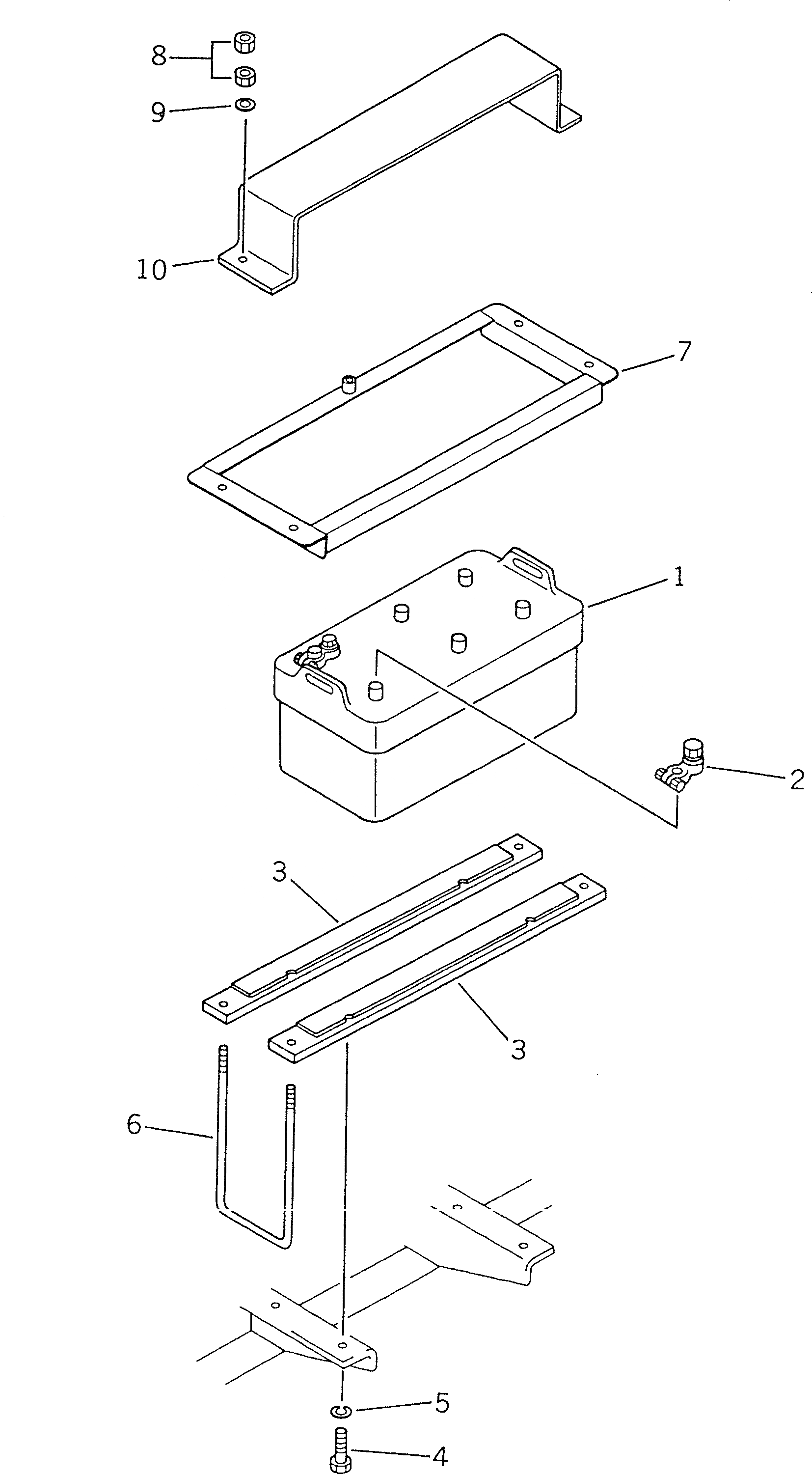
1

08000-02220

BATTERY (190H52)

SN: 50001-UP

2шт.

2

08000-00000

TERMINAL, (+)

SN: 50001-UP

2шт.

2

08000-00001

TERMINAL, (-)

SN: 50001-UP

2шт.

3

23B-06-12420

BRACKET

SN: 50001-UP

4шт.

4

01010-51025

BOLT

SN: 50001-UP

8шт.

5

01602-21030

WASHER,SPRING

SN: 50001-UP

8шт.

6

23A-06-12420

U-BOLT

SN: 50001-UP

4шт.

7

23B-06-12410

HOLDER

SN: 50001-UP

2шт.

8

01580-11008

NUT

SN: 50001-UP

16шт.

9

01643-31032

WASHER

SN: 50001-UP

8шт.

10

23B-06-12460

COVER

SN: 50001-UP

1шт.

Выбрано товаров: 11