Запчасти Komatsu GD625A-1 ГИДРАВЛ РЫЧАГ УПРАВЛ-Я (/) СИСТЕМА УПРАВЛЕНИЯ

Схема запчастей Komatsu GD625A-1 - ГИДРАВЛ РЫЧАГ УПРАВЛ-Я (/) СИСТЕМА УПРАВЛЕНИЯ
FIT
1:1
100%

Артикул

Название

Примечание

Количество

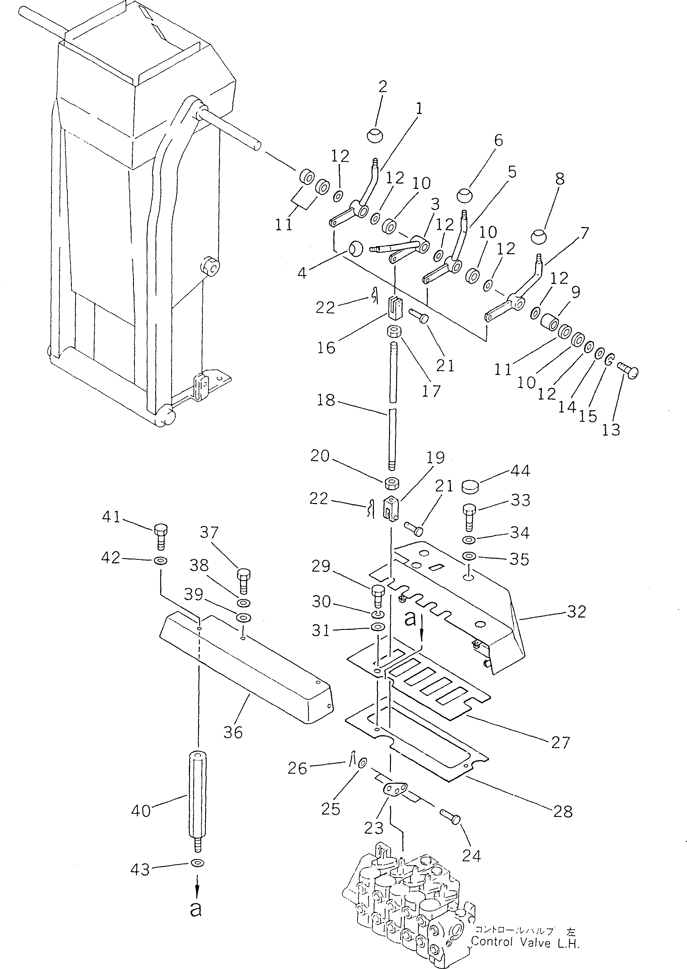
1

23B-43-18180

LEVER,CIRCLE REVERSE

SN: 50001-UP

1шт.

2

234-43-00320

KNOB ASS'Y,CIRCLE REVERSE

SN: 50001-UP

1шт.

2

237-43-17480

KNOB

SN: 50001-UP

1шт.

2

234-53-32320

PLATE, OPERATING

SN: 50001-UP

1шт.

3

23B-43-18220

LEVER,POWER TILT

SN: 50001-UP

1шт.

4

232-735-0050

KNOB ASS'Y,POWER TILT

SN: 50001-UP

1шт.

4

237-43-17480

KNOB

SN: 50001-UP

1шт.

4

232-735-1340

PLATE, OPERATING

SN: 50001-UP

1шт.

5

23B-43-18150

LEVER,BLADE SIDE SHIFT

SN: 50001-UP

1шт.

6

237-43-00060

KNOB ASS'Y,BLADE SIDE SHIFT

SN: 50001-UP

1шт.

6

237-43-17480

KNOB

SN: 50001-UP

1шт.

6

237-54-13230

PLATE, OPERATING

SN: 50001-UP

1шт.

7

23B-43-18210

LEVER,BLADE LIFT

SN: 50001-UP

1шт.

8

237-43-00080

KNOB ASS'Y,BLADE LIFT

SN: 50001-UP

1шт.

8

237-43-17480

KNOB

SN: 50001-UP

1шт.

8

237-54-13210

PLATE, OPERATING

SN: 50001-UP

1шт.

9

237-43-17440

COLLAR

SN: 50001-UP

1шт.

10

23D-43-18540

COLLAR

SN: 50001-UP

3шт.

11

23D-43-18590

COLLAR

SN: 50001-UP

3шт.

12

237-43-17420

WASHER

SN: 50001-UP

6шт.

13

01220-40816

SCREW

SN: 50001-UP

1шт.

14

23A-43-18190

WASHER

SN: 50001-UP

1шт.

15

01602-20825

WASHER,SPRING

SN: 50001-UP

1шт.

16

04221-20844

YOKE,L.H. THREAD

SN: 50001-UP

4шт.

17

01508-20805

NUT,L.H. THREAD

SN: 50001-UP

4шт.

18

23B-43-18390

ROD

SN: 50001-UP

4шт.

19

238-43-38580

YOKE

SN: 50001-UP

4шт.

20

01580-10806

NUT

SN: 50001-UP

4шт.

21

04205-10822

PIN

SN: 50001-UP

8шт.

22

234-43-18710

PIN,SNAP

SN: 50001-UP

8шт.

23

23B-43-18270

LEVER

SN: 50001-UP

4шт.

24

235-43-18440

PIN

SN: 50001-UP

8шт.

25

01641-20508

WASHER

SN: 50001-UP

8шт.

26

04050-11212

PIN,COTTER

SN: 50001-UP

8шт.

27

23B-43-18341

PLATE

SN: 50001-UP

1шт.

28

23B-43-18330

PLATE

SN: 50001-UP

1шт.

29

01010-50625

BOLT

SN: 50001-UP

2шт.

30

01602-20619

WASHER,SPRING

SN: 50001-UP

2шт.

31

01643-30623

WASHER

SN: 50001-UP

2шт.

32

23B-43-18310

COVER

SN: 50001-UP

1шт.

33

01010-51225

BOLT

SN: 50001-UP

3шт.

34

01643-31232

WASHER

SN: 50001-UP

3шт.

35

01643-31445

WASHER

SN: 50001-UP

3шт.

36

23B-43-18320

COVER

SN: 50001-UP

1шт.

37

01010-50616

BOLT

SN: 50001-UP

3шт.

38

01642-20608

WASHER

SN: 50001-UP

3шт.

39

01643-30823

WASHER

SN: 50001-UP

3шт.

40

23D-43-18630

BOLT

SN: 50001-UP

1шт.

41

01010-50616

BOLT

SN: 50001-UP

1шт.

42

01643-30623

WASHER

SN: 50001-UP

1шт.

43

01643-30823

WASHER

SN: 50001-UP

1шт.

44

09415-02512

CAP

SN: 50001-UP

3шт.

Выбрано товаров: 52