Запчасти Komatsu GD625A-1 ЗАДН. УПРАВЛ. НАВЕСН. ОБОРУД. РЫЧАГ СИСТЕМА УПРАВЛЕНИЯ

Схема запчастей Komatsu GD625A-1 - ЗАДН. УПРАВЛ. НАВЕСН. ОБОРУД. РЫЧАГ СИСТЕМА УПРАВЛЕНИЯ
FIT
1:1
100%

Артикул

Название

Примечание

Количество

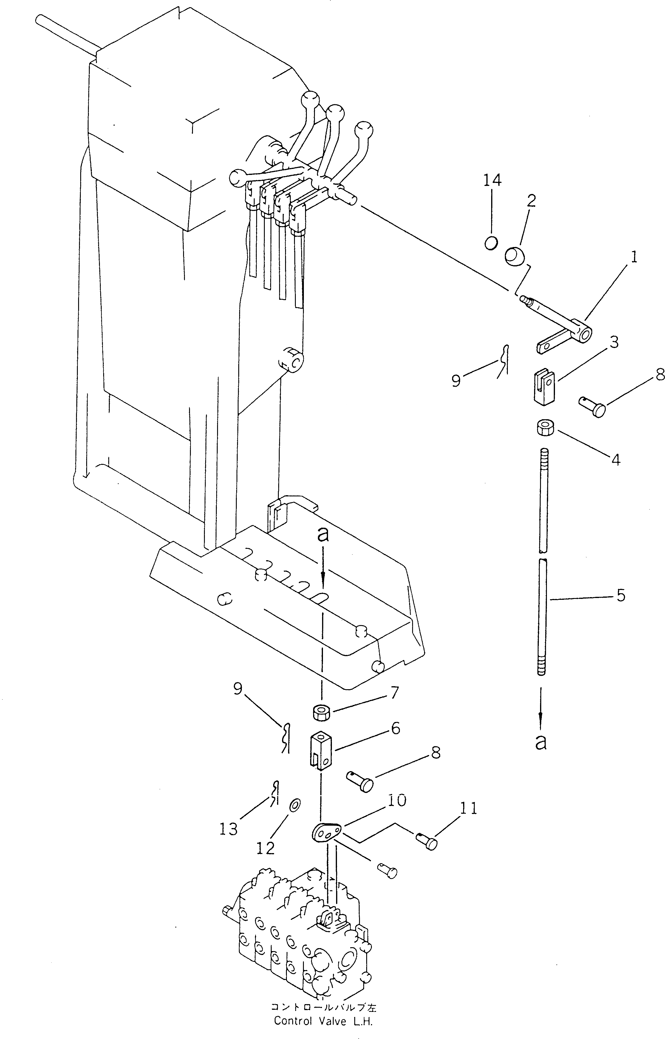
1

23B-43-18250

LEVER,RIPPER

SN: 50001-UP

1шт.

2

237-43-17480

KNOB,RIPPER

SN: 50001-UP

1шт.

3

23B-43-38580

YOKE

SN: 50001-UP

1шт.

4

01580-10806

NUT

SN: 50001-UP

1шт.

5

23B-43-18390

ROD

SN: 50001-UP

1шт.

6

04221-20844

YOKE,L.H. THREAD

SN: 50001-UP

1шт.

7

01508-20805

NUT,L.H. THREAD

SN: 50001-UP

1шт.

8

04205-10822

PIN

SN: 50001-UP

2шт.

9

234-43-18710

PIN,SNAP

SN: 50001-UP

2шт.

10

23B-43-18270

LEVER

SN: 50001-UP

1шт.

11

235-43-18440

PIN

SN: 50001-UP

2шт.

12

01641-20608

WASHER

SN: 50001-UP

2шт.

13

04050-00530

PIN,COTTER

SN: 50001-UP

2шт.

14

232-785-1410

PLATE, OPERATING

SN: 50001-UP

1шт.

Выбрано товаров: 14