Запчасти Komatsu GD625A-1 ГИДРАВЛ РЫЧАГ УПРАВЛ-Я¤ ЛЕВ.(№-) СИСТЕМА УПРАВЛЕНИЯ

Схема запчастей Komatsu GD625A-1 - ГИДРАВЛ РЫЧАГ УПРАВЛ-Я¤ ЛЕВ.(№-) СИСТЕМА УПРАВЛЕНИЯ
FIT
1:1
100%

Артикул

Название

Примечание

Количество

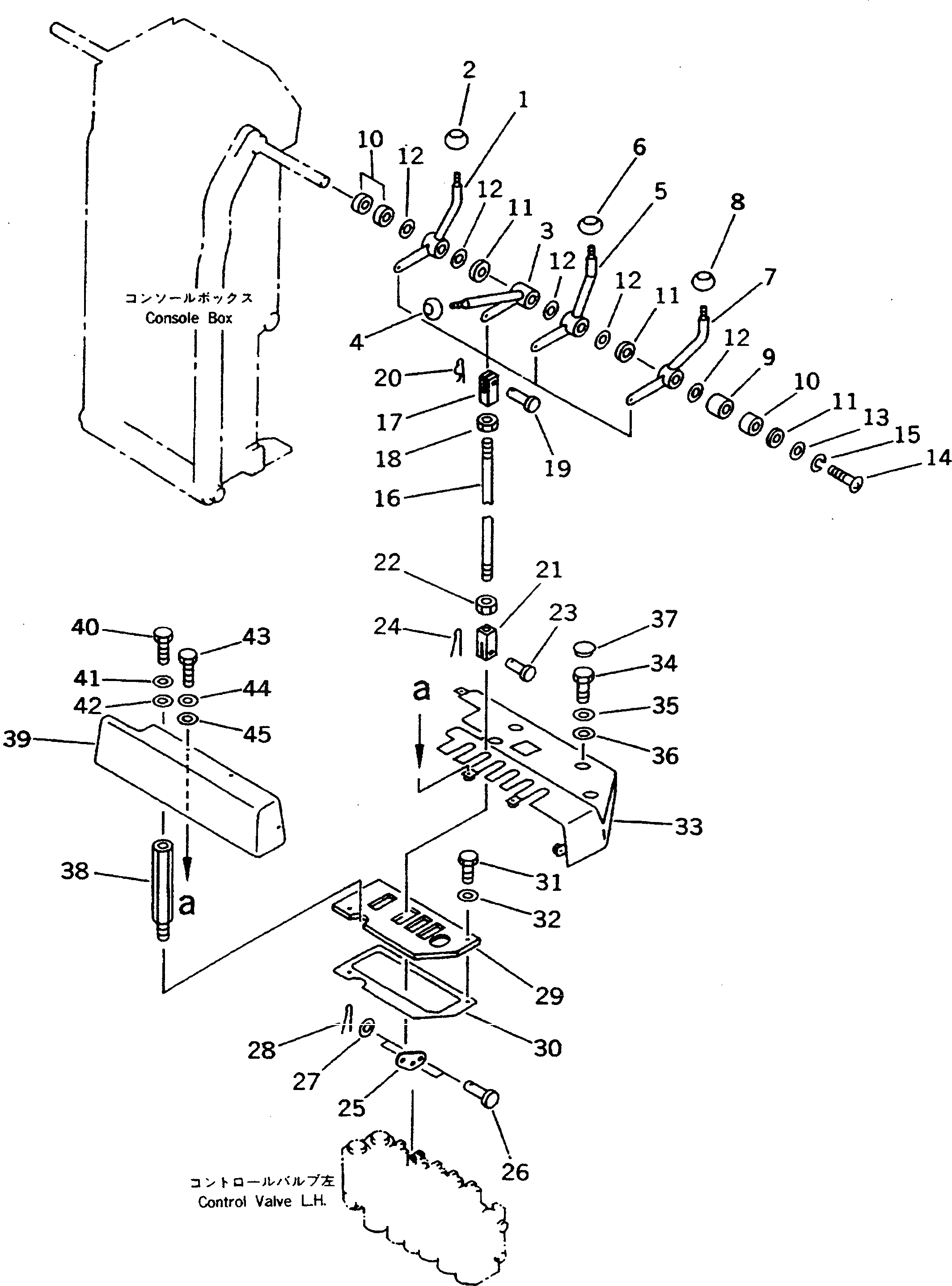
1

23B-43-18180

LEVER,CIRCLE REVERSE

SN: 60001-60146

1шт.

2

237-43-17480

KNOB

SN: 60001-@

1шт.

2

234-54-32320

PLATE,CIRCLE REVERSE

SN: 60001-@

1шт.

3

23B-43-18220

LEVER,POWER TILT

SN: 60001-60146

1шт.

4

237-43-17480

KNOB

SN: 60001-@

1шт.

4

232-735-1340

PLATE, OPERATING,POWER TILT

SN: 60001-@

1шт.

5

23B-43-18150

LEVER,BLADE SIDE SHIFT

SN: 60001-60146

1шт.

6

237-43-17480

KNOB

SN: 60001-@

1шт.

6

237-54-13230

PLATE, OPERATING,BLADE SIDE SHIFT

SN: 60001-@

1шт.

7

23B-43-18210

LEVER,BLADE LIFT

SN: 60001-60146

1шт.

8

237-43-17480

KNOB

SN: 60001-@

1шт.

8

237-54-13210

PLATE, OPERATING,BLADE LIFT

SN: 60001-@

1шт.

9

237-43-17440

COLLAR

SN: 60001-@

1шт.

10

23D-43-18590

COLLAR

SN: 60001-@

3шт.

11

23D-43-18540

COLLAR

SN: 60001-@

3шт.

12

237-43-17420

WASHER

SN: 60001-@

5шт.

13

23A-43-18190

WASHER

SN: 60001-@

1шт.

14

01220-40816

SCREW

SN: 60001-@

1шт.

15

01643-30823

WASHER

SN: 60001-60146

1шт.

16

23B-43-18390

ROD

SN: 60001-@

4шт.

17

04221-20844

YOKE

SN: 60001-60146

4шт.

18

01508-20805

NUT

SN: 60001-60146

4шт.

19

04205-10822

PIN

SN: 60001-60146

4шт.

20

234-43-18710

PIN,COTTER

SN: 60001-60146

4шт.

21

238-43-38580

YOKE

SN: 60001-60146

4шт.

22

01580-10806

NUT

SN: 60001-60146

4шт.

23

04205-10822

PIN

SN: 60001-60146

4шт.

24

04050-11612

PIN,COTTER

SN: 60001-60146

4шт.

25

23B-43-18270

LEVER

SN: 60001-60146

4шт.

26

235-43-18440

PIN

SN: 60001-60146

8шт.

27

01641-20508

WASHER

SN: 60001-60146

8шт.

28

04050-11212

PIN,COTTER

SN: 60001-60146

8шт.

29

23B-43-18340

SEAT

SN: 60001-60146

1шт.

30

23B-43-18330

PLATE

SN: 60001-60146

1шт.

31

01010-50625

BOLT

SN: 60001-@

2шт.

32

01643-30623

WASHER

SN: 60001-@

2шт.

33

23B-43-18310

COVER

SN: 60001-60146

1шт.

34

01010-51225

BOLT

SN: 60001-@

3шт.

35

01643-31232

WASHER

SN: 60001-@

3шт.

36

01643-31445

WASHER

SN: 60001-@

3шт.

37

09415-02512

CAP

SN: 60001-@

3шт.

38

23D-43-18630

BOLT

SN: 60001-60146

1шт.

39

23B-43-18320

COVER

SN: 60001-60146

1шт.

40

01010-50625

BOLT

SN: 60001-60146

1шт.

41

01643-30623

WASHER

SN: 60001-60146

1шт.

42

01643-30823

WASHER

SN: 60001-60146

1шт.

43

01010-50625

BOLT

SN: 60001-60146

3шт.

44

01642-20608

WASHER

SN: 60001-60146

3шт.

45

01643-30623

WASHER

SN: 60001-60146

3шт.

Выбрано товаров: 49