Запчасти Komatsu GD625A-1 ТОРМОЗНАЯ ГИДРОЛИНИЯ (/) (ТОРМОЗНОЙ КЛАПАН - КОЛЕСН. ТОРМОЗ) (ДЛЯ EC СПЕЦ-Я.)(№8-) СИСТЕМА УПРАВЛЕНИЯ

Схема запчастей Komatsu GD625A-1 - ТОРМОЗНАЯ ГИДРОЛИНИЯ (/) (ТОРМОЗНОЙ КЛАПАН - КОЛЕСН. ТОРМОЗ) (ДЛЯ EC СПЕЦ-Я.)(№8-) СИСТЕМА УПРАВЛЕНИЯ
FIT
1:1
100%

Артикул

Название

Примечание

Количество

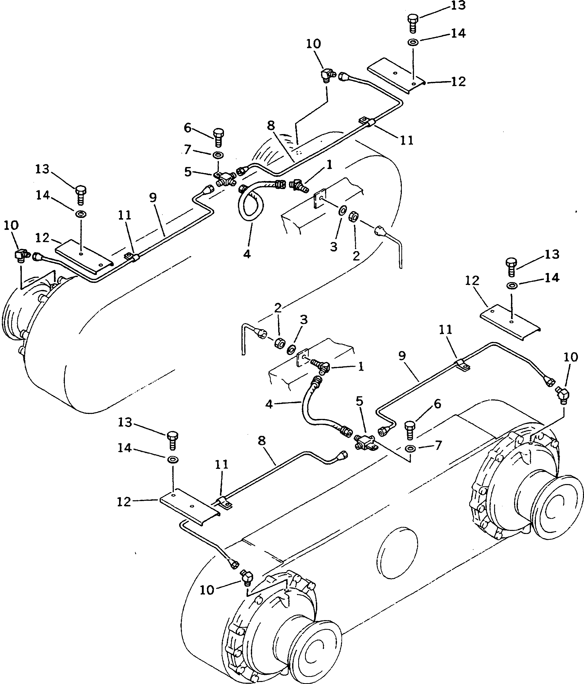
1

23B-44-11310

JOINT

SN: 60001-UP

2шт.

2

01583-11610

NUT

SN: 60001-UP

2шт.

3

01643-31645

WASHER

SN: 60001-UP

2шт.

4

07102-20405

HOSE

SN: 60001-UP

2шт.

5

23B-44-11590

JOINT

SN: 60001-UP

2шт.

6

01010-51225

BOLT

SN: 60001-UP

2шт.

7

01643-31232

WASHER

SN: 60001-UP

2шт.

8

23B-44-11620

TUBE

SN: 60001-UP

2шт.

9

23B-44-11630

TUBE

SN: 60001-UP

2шт.

10

238-44-11440

ELBOW

SN: 60001-UP

4шт.

11

232-44-54680

CLIP

SN: 60001-UP

4шт.

12

23B-44-11640

PROTECTOR

SN: 60001-UP

4шт.

13

01010-51225

BOLT

SN: 60001-UP

8шт.

14

01643-31232

WASHER

SN: 60001-UP

8шт.

Выбрано товаров: 14