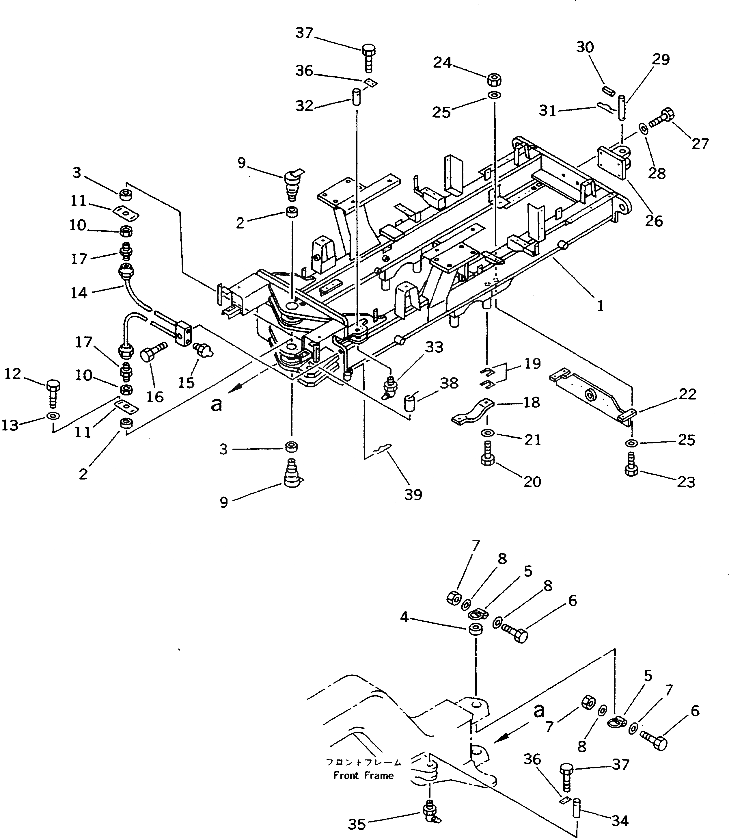
Запчасти Komatsu GD625A-1 ЗАДН. РАМА РАМА И ЧАСТИ КОРПУСА

Схема запчастей Komatsu GD625A-1 - ЗАДН. РАМА РАМА И ЧАСТИ КОРПУСА
FIT
1:1
100%

Артикул

Название

Примечание

Количество

1

23B-46-12021

FRAME,REAR

SN: 60001-UP

1шт.

2

236-46-13381

BUSHING

SN: 60032-UP

2шт.

2

236-46-13380

BUSHING

SN: 60001-60031

2шт.

3

236-46-13390

BUSHING

SN: 60001-UP

2шт.

4

232-46-53211

BUSHING

SN: 60032-UP

2шт.

4

232-46-53210

BUSHING

SN: 60001-60031

2шт.

5

236-46-13610

O-RING

SN: 60001-UP

4шт.

6

235-46-11710

BOLT

SN: 60001-UP

4шт.

7

01598-00608

NUT

SN: 60001-UP

4шт.

8

01640-20610

WASHER

SN: 60001-UP

8шт.

9

23A-46-11371

PIN

SN: 60032-UP

2шт.

9

23A-46-11370

PIN

SN: 60001-60031

2шт.

10

236-46-13410

NUT

SN: 60001-UP

2шт.

11

23A-46-11380

PLATE

SN: 60001-UP

2шт.

12

01010-51630

BOLT

SN: 60001-UP

4шт.

13

01643-31645

WASHER

SN: 60001-UP

4шт.

14

23B-46-11290

TUBE

SN: 60001-UP

1шт.

15

07020-00000

FITTING,GREASE

SN: 60001-UP

2шт.

16

01010-51225

BOLT

SN: 60006-UP

1шт.

16

01010-51230

BOLT

SN: 60001-60005

1шт.

17

07213-50610

CONNECTOR

SN: 60001-UP

2шт.

18

23B-46-12320

CAP

SN: 60001-UP

2шт.

19

23A-46-00120

SHIM ASS'Y

SN: 60001-UP

1шт.

19

0

SHIM, 0.1MM

SN: 60001-UP

8шт.

19

0

SHIM, 0.2MM

SN: 60001-UP

16шт.

19

0

SHIM, 0.5MM

SN: 60001-UP

8шт.

20

01011-83080

BOLT

SN: 60036-UP

4шт.

20

01011-53080

BOLT

SN: 60001-60035

4шт.

21

01643-33080

WASHER

SN: 60001-UP

4шт.

22

23B-22-21270

HANGER

SN: 60001-UP

1шт.

23

01010-51675

BOLT

SN: 60001-UP

4шт.

24

01580-11613

NUT

SN: 60001-UP

4шт.

25

01643-31645

WASHER

SN: 60001-UP

8шт.

26

238-46-11810

DRAWBAR

SN: 60001-UP

1шт.

27

01010-52060

BOLT

SN: 60001-UP

4шт.

28

01643-32060

WASHER

SN: 60001-UP

4шт.

29

232-46-11711

PIN

SN: 60001-UP

1шт.

30

04025-01065

PIN,SPRING

SN: 60001-UP

1шт.

31

232-46-11920

PIN,SNAP

SN: 60001-UP

1шт.

32

23B-46-11350

PIN,L.H.

SN: 60001-UP

1шт.

32

23B-46-11360

PIN,R.H.

SN: 60001-UP

1шт.

33

07020-00675

FITTING,GREASE

SN: 60001-UP

2шт.

34

23B-46-11250

PIN

SN: 60001-UP

2шт.

35

07020-00900

FITTING,GREASE

SN: 60001-UP

2шт.

36

04082-00206

LOCK

SN: 60001-UP

4шт.

37

01010-51225

BOLT

SN: 60001-UP

8шт.

38

23A-46-11410

PIN,ARTICULATE LOCK

SN: 60001-UP

1шт.

39

04052-11038

PIN,SNAP

SN: 60001-UP

1шт.

Выбрано товаров: 48