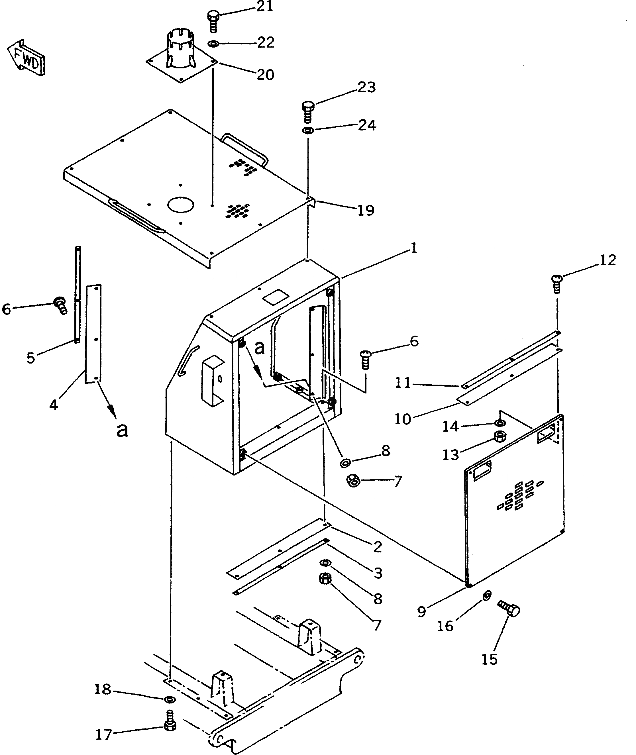
Запчасти Komatsu GD625A-1 ЗАЩИТА РАДИАТОРА AND КАПОТ(№-) РАМА И ЧАСТИ КОРПУСА

Схема запчастей Komatsu GD625A-1 - ЗАЩИТА РАДИАТОРА AND КАПОТ(№-) РАМА И ЧАСТИ КОРПУСА
FIT
1:1
100%

Артикул

Название

Примечание

Количество

1

23B-54-26110

GRILLE

SN: 60001-@

1шт.

2

23B-54-15540

PLATE,BAFFLE

SN: 60001-@

1шт.

3

23B-54-15890

PLATE

SN: 60001-@

1шт.

4

23B-54-15340

PLATE,BAFFLE

SN: 60001-60005

2шт.

5

23B-54-15880

PLATE

SN: 60001-60005

2шт.

6

01220-30620

SCREW

SN: 60001-60005

9шт.

7

01580-10605

NUT

SN: 60001-60005

9шт.

8

01643-30623

WASHER

SN: 60001-60005

9шт.

9

23B-54-26120

MASK,GRILLE

SN: 60001-@

1шт.

10

23B-54-15540

PLATE,BAFFLE

SN: 60001-@

1шт.

11

23B-54-15890

PLATE

SN: 60001-@

1шт.

12

01220-30620

SCREW

SN: 60001-60005

3шт.

13

01580-10605

NUT

SN: 60001-60005

3шт.

14

01643-30623

WASHER

SN: 60001-60005

3шт.

15

01010-51025

BOLT

SN: 60001-@

4шт.

16

234-54-13252

WASHER

SN: 60001-@

4шт.

17

01010-51025

BOLT

SN: 60001-@

6шт.

18

01643-31032

WASHER

SN: 60001-@

6шт.

19

23B-54-26130

HOOD

SN: 60001-@

1шт.

20

23B-54-15580

SUPPORT

SN: 60001-@

1шт.

21

01010-51025

BOLT

SN: 60001-@

4шт.

22

232-43-58360

WASHER

SN: 60001-@

4шт.

23

01010-51025

BOLT

SN: 60001-@

6шт.

24

234-54-13252

WASHER

SN: 60001-@

6шт.

Выбрано товаров: 24