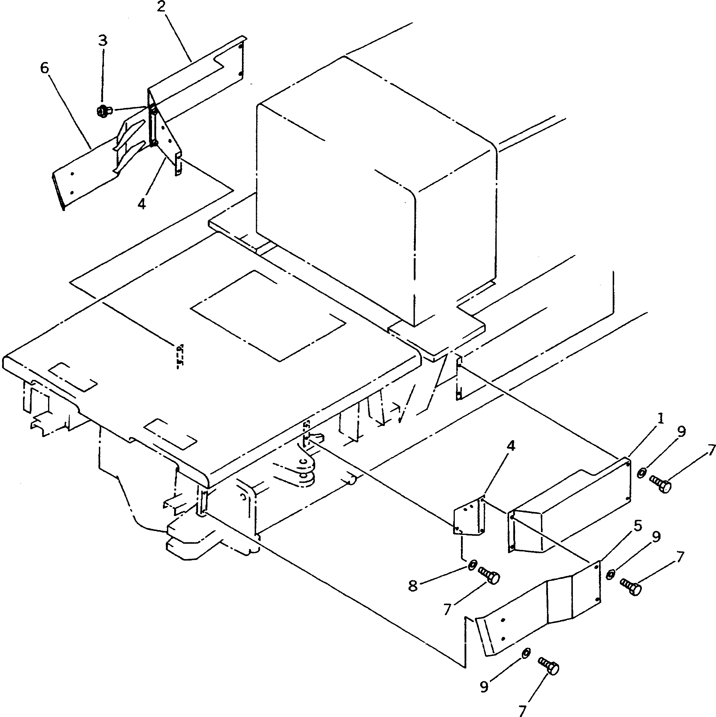
Запчасти Komatsu GD625A-1 ЦИЛИНДР СОЧЛЕНЕНИЯ ЧАСТИ КОРПУСА РАМА И ЧАСТИ КОРПУСА

Схема запчастей Komatsu GD625A-1 - ЦИЛИНДР СОЧЛЕНЕНИЯ ЧАСТИ КОРПУСА РАМА И ЧАСТИ КОРПУСА
FIT
1:1
100%

Артикул

Название

Примечание

Количество

1

23B-54-26180

COVER,L.H.

SN: 60001-UP

1шт.

2

23B-54-26190

COVER,R.H.

SN: 60001-UP

1шт.

3

205-60-71220

LOCK ASS'Y

SN: 60001-UP

1шт.

4

23B-54-26220

BRACKET

SN: 60001-UP

2шт.

5

23B-54-26210

COVER,L.H.

SN: 60001-UP

1шт.

6

23B-54-26260

COVER,R.H.

SN: 60001-UP

1шт.

7

01010-51025

BOLT

SN: 60001-UP

16шт.

8

01643-31032

WASHER

SN: 60001-UP

4шт.

9

234-54-13252

WASHER

SN: 60001-UP

12шт.

Выбрано товаров: 9