Запчасти Komatsu GD625A-1 КРЫШКА АККУМУЛЯТОРА (С КОНДИЦИОНЕРОМ) РАМА И ЧАСТИ КОРПУСА

Схема запчастей Komatsu GD625A-1 - КРЫШКА АККУМУЛЯТОРА (С КОНДИЦИОНЕРОМ) РАМА И ЧАСТИ КОРПУСА
FIT
1:1
100%

Артикул

Название

Примечание

Количество

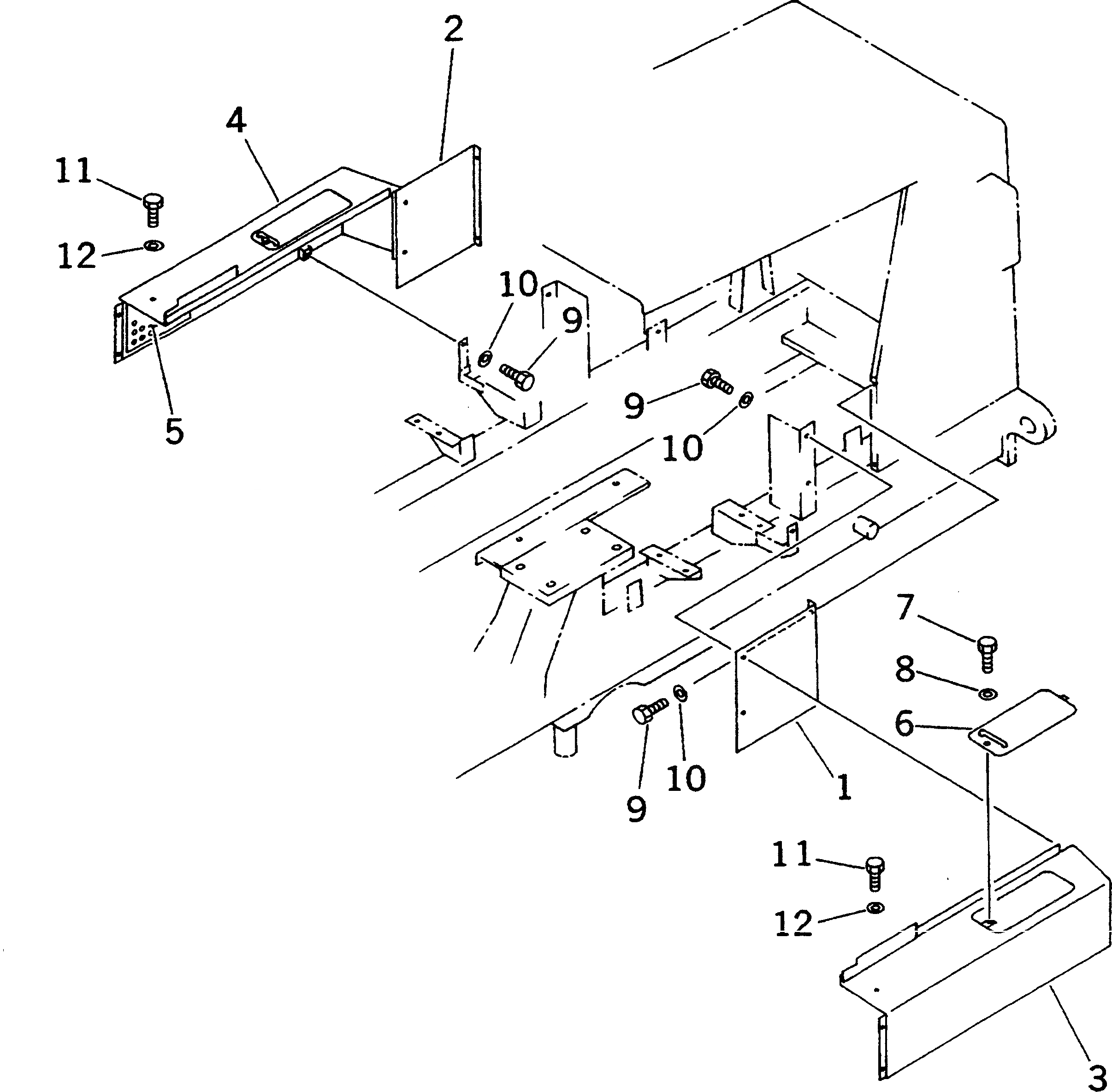
1

23B-54-26140

PLATE,LOWER, L.H.

SN: 60001-UP

1шт.

2

23B-54-26150

PLATE,LOWER, R.H.

SN: 60001-UP

1шт.

3

23B-54-26160

COVER,BATTERY, L.H.

SN: 60001-UP

1шт.

4

23B-809-3110

COVER,BATTERY, R.H.

SN: 60001-UP

1шт.

5

23B-809-3120

PLATE (WELDED)

SN: 60001-UP

1шт.

6

23A-54-15271

COVER

SN: 60001-UP

2шт.

7

01010-50812

BOLT

SN: 60001-UP

2шт.

8

234-54-13252

WASHER

SN: 60001-UP

2шт.

9

01010-51025

BOLT

SN: 60001-UP

10шт.

10

01643-31032

WASHER

SN: 60001-UP

10шт.

11

01010-51025

BOLT

SN: 60001-UP

2шт.

12

234-54-13252

WASHER

SN: 60001-UP

2шт.

Выбрано товаров: 0