Запчасти Komatsu GD625A-1 КАБИНА (7/7) (АКСЕССУАРЫ) РАМА И ЧАСТИ КОРПУСА

Схема запчастей Komatsu GD625A-1 - КАБИНА (7/7) (АКСЕССУАРЫ) РАМА И ЧАСТИ КОРПУСА
FIT
1:1
100%

Артикул

Название

Примечание

Количество

|$0

23B-950-0033

STEEL CAB ASS'Y,(FULL TYPE)

SN: 60001-UP

1шт.

|$1

0

STEEL CAB ASS'Y,(FULL TYPE)

SN: (60001-.)

1шт.

|$2

23B-950-0042

STEEL CAB ASS'Y,(LOW TYPE)

SN: 60001-UP

1шт.

|$3

0

STEEL CAB ASS'Y,(LOW TYPE)

SN: (60001-.)

1шт.

|$$5

THESE ASSEMBLIES CONSIST OF ALL PARTS SHOWN IN FIGS.5401 TO 5413.

-1шт.

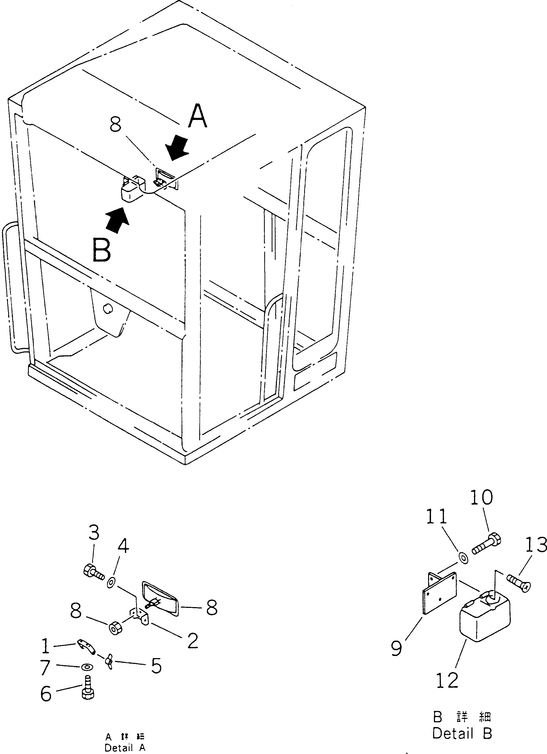
1

23B-950-2550

BRACKET

SN: 60001-UP

1шт.

2

23B-950-2560

BRACKET

SN: 60001-UP

1шт.

3

01010-51020

BOLT

SN: 60001-UP

2шт.

4

01643-31032

WASHER

SN: 60001-UP

2шт.

5

01541-21050

NUT

SN: 60001-UP

2шт.

6

01010-50820

BOLT

SN: 60001-UP

2шт.

7

01643-30823

WASHER

SN: 60001-UP

2шт.

8

232-957-6210

MIRROR

SN: 60001-UP

1шт.

9

23B-950-2571

BRACKET

SN: 60001-UP

1шт.

10

01010-50610

BOLT

SN: 60001-UP

2шт.

11

01643-30623

WASHER

SN: 60001-UP

2шт.

12

232-855-1542

ASHTRAY

SN: 60001-UP

1шт.

13

01224-40406

SCREW

SN: 60001-UP

3шт.

Выбрано товаров: 18