Запчасти Komatsu GD625A-1 SCARIFIER РАБОЧЕЕ ОБОРУДОВАНИЕ

Схема запчастей Komatsu GD625A-1 - SCARIFIER РАБОЧЕЕ ОБОРУДОВАНИЕ
FIT
1:1
100%

Артикул

Название

Примечание

Количество

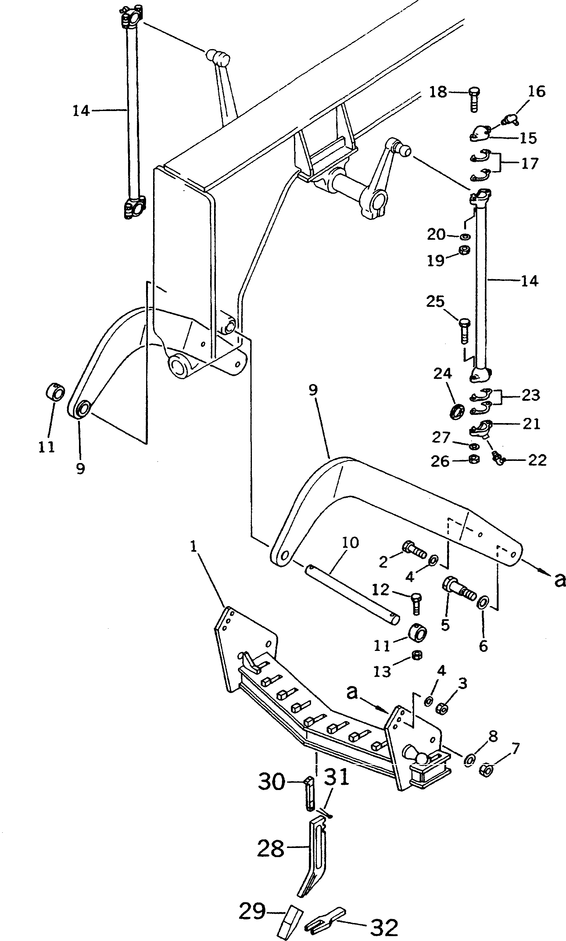
1

23B-71-11150

BODY

SN: 60001-UP

1шт.

2

01011-82400

BOLT

SN: 60001-UP

2шт.

3

01580-12419

NUT

SN: 60001-UP

2шт.

4

01643-32460

WASHER

SN: 60001-UP

4шт.

5

232-71-51220

BOLT

SN: 60001-UP

2шт.

6

01643-33080

WASHER

SN: 60001-UP

2шт.

7

01580-12722

NUT

SN: 60001-UP

2шт.

8

01643-32780

WASHER

SN: 60001-UP

2шт.

9

23B-71-11320

DRAWBAR,L.H.

SN: 60001-UP

1шт.

9

23B-71-11310

DRAWBAR,R.H.

SN: 60001-UP

1шт.

10

23B-71-11250

SHAFT

SN: 60001-UP

1шт.

11

232-70-13210

COLLAR

SN: 60001-UP

2шт.

12

01011-51400

BOLT

SN: 60001-UP

2шт.

13

01598-01415

NUT

SN: .-UP

2шт.

13

0

NUT

SN: 60001-.

2шт.

14

23B-71-11160

ROD

SN: 60001-UP

2шт.

15

232-71-11330

CAP

SN: 60001-UP

2шт.

16

07020-00900

FITTING,GREASE

SN: 60001-UP

2шт.

17

232-71-11340

SHIM, 0.2MM

SN: 60001-UP

10шт.

18

01010-51665

BOLT

SN: 60001-UP

4шт.

19

01580-11613

NUT

SN: 60001-UP

4шт.

20

01643-31645

WASHER

SN: 60001-UP

4шт.

21

238-71-11210

CAP

SN: 60001-UP

2шт.

22

07020-00900

FITTING,GREASE

SN: 60001-UP

2шт.

23

07139-00705

SHIM, 0.5MM

SN: 60001-UP

6шт.

24

07141-00070

SEAL,DUST

SN: 60001-UP

2шт.

25

01010-51665

BOLT

SN: 60001-UP

4шт.

26

01580-11613

NUT

SN: 60001-UP

4шт.

27

01643-31645

WASHER

SN: 60001-UP

4шт.

28

232-71-51310

SHANK

SN: 60001-UP

11шт.

29

232-71-51320

TOOTH

SN: 60001-UP

11шт.

30

232-70-13142

WEDGE

SN: 60001-UP

11шт.

31

04050-18050

PIN,COTTER

SN: 60001-UP

11шт.

32

232-71-51330

TOOL

SN: 60001-UP

1шт.

Выбрано товаров: 34