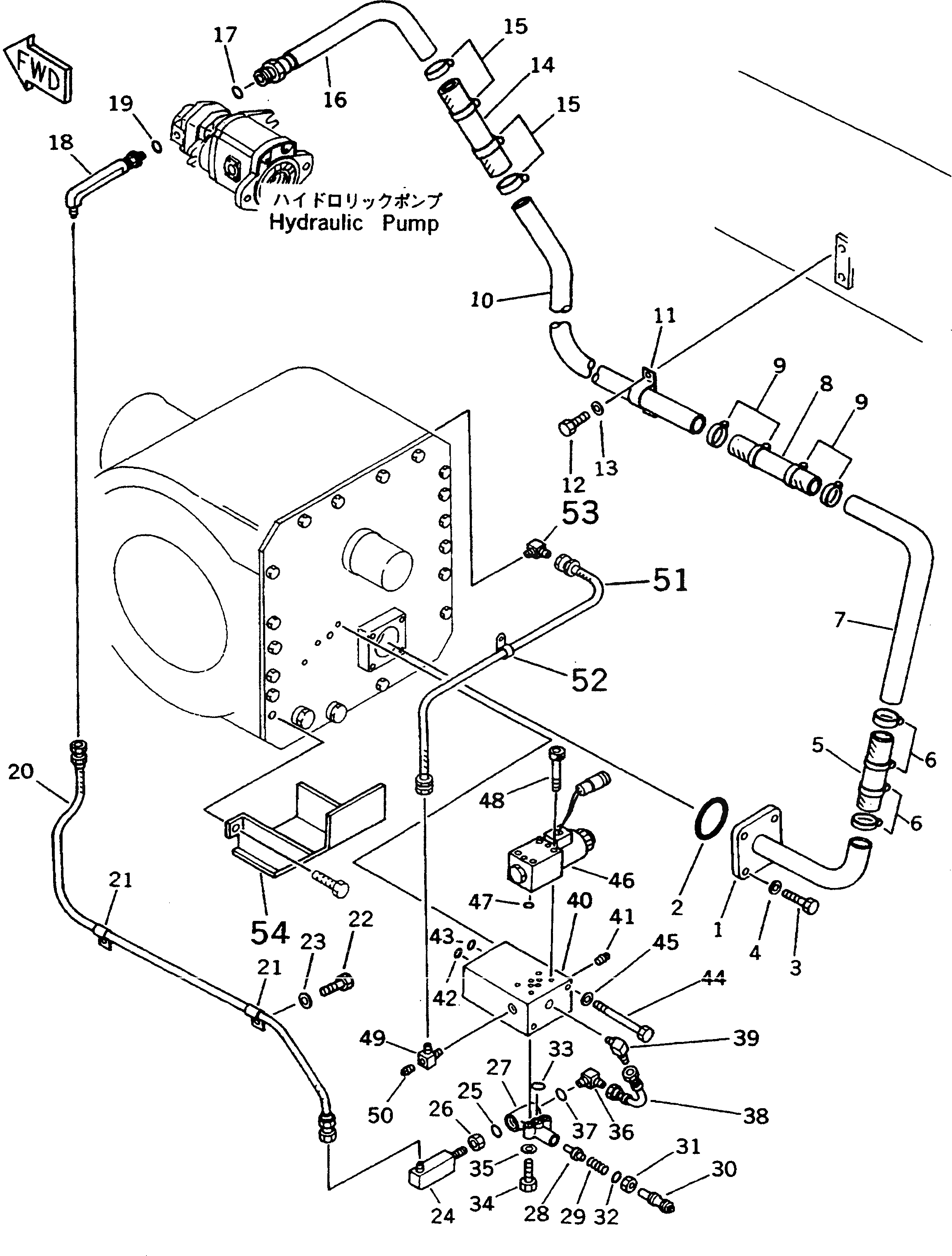
Запчасти Komatsu GD625A-1 бЛОК. ДИФФЕРЕНЦИАЛА ТРУБЫ (ДЛЯ бЛОК. ДИФФЕРЕНЦИАЛА) СИЛОВАЯ ПЕРЕДАЧА

Схема запчастей Komatsu GD625A-1 - бЛОК. ДИФФЕРЕНЦИАЛА ТРУБЫ (ДЛЯ бЛОК. ДИФФЕРЕНЦИАЛА) СИЛОВАЯ ПЕРЕДАЧА
FIT
1:1
100%

Артикул

Название

Примечание

Количество

1

23B-22-22110

TUBE

SN: 60001-UP

1шт.

2

07000-12070

O-RING

SN: 60001-UP

1шт.

3

01010-51055

BOLT

SN: 60001-UP

4шт.

4

01643-31032

WASHER

SN: 60001-UP

4шт.

5

07260-22014

HOSE

SN: 60001-UP

1шт.

6

07281-00359

CLAMP

SN: 60001-UP

4шт.

7

23B-22-22130

TUBE

SN: 60001-UP

1шт.

8

07260-22014

HOSE

SN: 60001-UP

1шт.

9

07281-00359

CLAMP

SN: 60001-UP

4шт.

10

23B-22-22120

TUBE

SN: 60001-UP

1шт.

11

07282-02288

CLAMP

SN: 60001-UP

1шт.

12

01010-51020

BOLT

SN: 60001-UP

2шт.

13

01643-31032

WASHER

SN: 60001-UP

2шт.

14

07260-22014

HOSE

SN: 60001-UP

1шт.

15

07281-00359

CLAMP

SN: 60001-UP

4шт.

16

23B-22-22140

TUBE

SN: 60001-UP

1шт.

17

238-40-16140

O-RING

SN: 60001-UP

1шт.

18

23B-22-22150

ELBOW

SN: 60001-UP

1шт.

19

07000-12014

O-RING

SN: 60036-UP

1шт.

19

237-60-22180

O-RING

SN: 60001-60035

1шт.

20

07102-20315

HOSE

SN: 60001-UP

1шт.

21

08035-02510

CLIP

SN: 60001-UP

2шт.

22

01010-51016

BOLT

SN: 60001-UP

2шт.

23

01643-31032

WASHER

SN: 60001-UP

2шт.

24

235-22-12350

ELBOW

SN: 60001-UP

1шт.

25

07002-12434

O-RING

SN: 60001-UP

1шт.

26

07239-12410

NUT

SN: 60001-UP

1шт.

|$27

235-22-12600

RELIEF VALVE ASS'Y

SN: 60001-UP

1шт.

27

235-22-12620

BODY

SN: 60001-UP

1шт.

28

235-22-12640

VALVE

SN: 60001-UP

1шт.

29

232-14-37461

SPRING

SN: 60001-UP

1шт.

30

235-22-12630

SCREW

SN: 60001-UP

1шт.

31

01583-12414

NUT

SN: 60001-UP

1шт.

32

07002-12434

O-RING

SN: 60001-UP

1шт.

33

07000-12018

O-RING

SN: 60001-UP

1шт.

34

01010-51060

BOLT

SN: 60001-UP

2шт.

35

01643-31032

WASHER

SN: 60001-UP

2шт.

36

236-60-24450

ELBOW

SN: 60001-UP

1шт.

37

07002-12434

O-RING

SN: 60001-UP

1шт.

38

235-22-12380

TUBE

SN: 60001-UP

1шт.

39

234-943-6270

ELBOW

SN: 60001-UP

1шт.

40

23B-22-22210

BLOCK

SN: 60001-UP

1шт.

41

07042-20312

PLUG

SN: 60057-UP

1шт.

41

07042-00312

PLUG

SN: 60001-60056

1шт.

42

07000-12015

O-RING

SN: 60001-UP

1шт.

43

07000-12020

O-RING

SN: 60001-UP

1шт.

44

01011-51060

BOLT

SN: 60001-UP

2шт.

45

01643-31032

WASHER

SN: 60001-UP

2шт.

46

235-22-12500

SOLENOID VALVE ASS'Y

SN: 60001-UP

1шт.

47

235-22-12510

O-RING

SN: 60001-UP

4шт.

48

01252-40545

BOLT

SN: 60001-UP

4шт.

49

235-22-12150

ELBOW

SN: 60001-UP

1шт.

50

07042-20108

PLUG

SN: 60057-UP

1шт.

50

07042-00108

PLUG

SN: 60001-60056

1шт.

51

07102-20307

HOSE

SN: 60001-UP

1шт.

52

23B-22-22410

CLIP

SN: 60001-UP

1шт.

53

234-943-6270

ELBOW

SN: 60001-UP

1шт.

54

23B-22-21260

PROTECTOR

SN: 60001-UP

1шт.

Выбрано товаров: 58