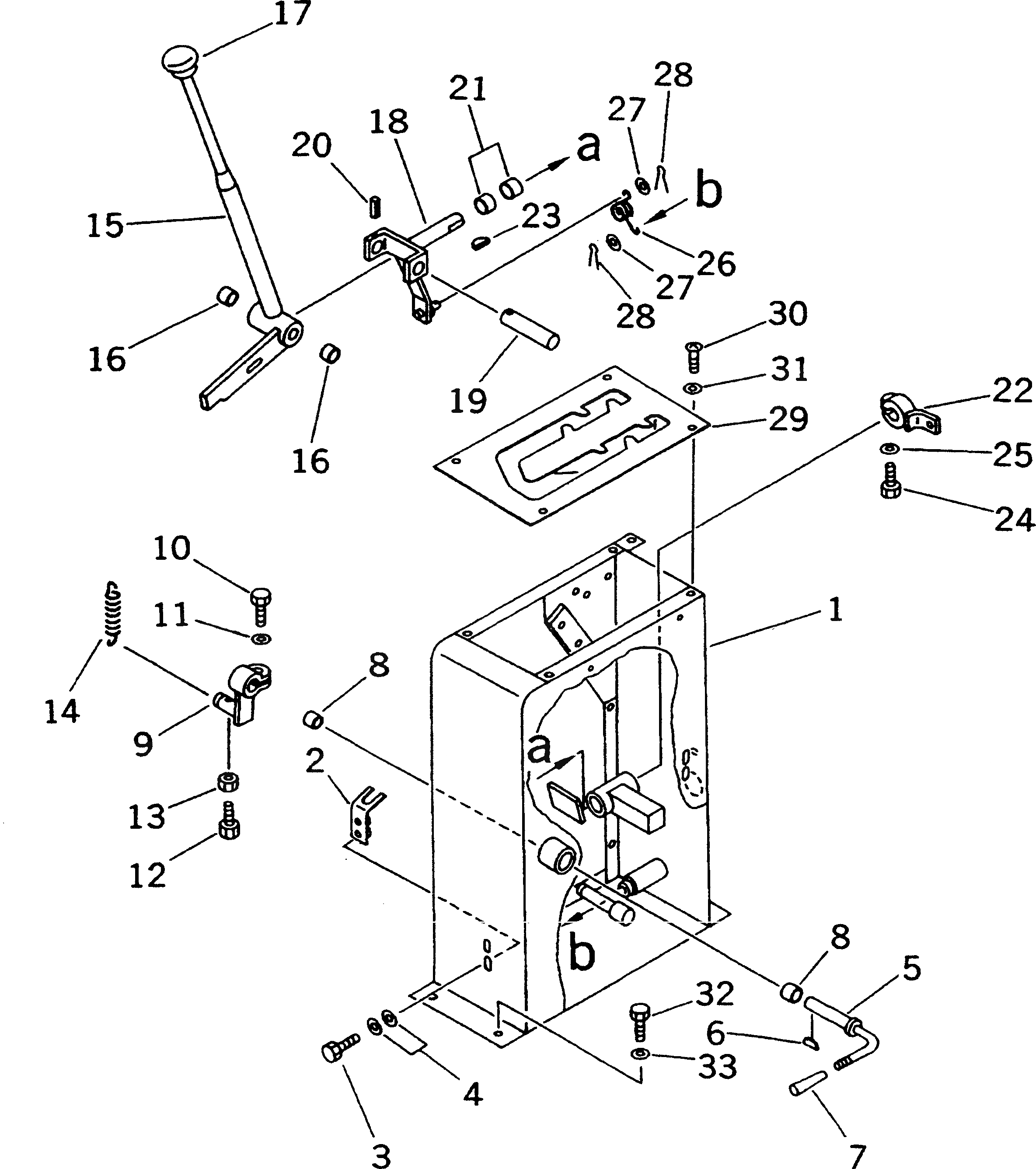
Запчасти Komatsu GD625A-1 РЫЧАГ УПРАВЛ-Я ТРАНСМИССИЕЙ(№-) СИСТЕМА УПРАВЛЕНИЯ

Схема запчастей Komatsu GD625A-1 - РЫЧАГ УПРАВЛ-Я ТРАНСМИССИЕЙ(№-) СИСТЕМА УПРАВЛЕНИЯ
FIT
1:1
100%

Артикул

Название

Примечание

Количество

1

23A-45-11411

BOX,(MODIFIED PART)

SN: 60082-UP

1шт.

1

23A-45-11112

BOX

SN: 60043-60081

1шт.

2

23A-45-11170

PLATE

SN: 60001-UP

1шт.

3

01010-50616

BOLT

SN: 60001-UP

2шт.

4

01643-30623

WASHER

SN: 60043-UP

4шт.

5

23B-45-11121

LEVER

SN: 60043-UP

1шт.

6

04010-00519

KEY

SN: 60001-UP

1шт.

7

09305-00800

KNOB

SN: 60001-UP

1шт.

8

232-43-52320

BUSHING

SN: 60001-UP

2шт.

9

232-45-11620

LEVER

SN: 60001-UP

1шт.

10

01010-50830

BOLT

SN: 60001-UP

1шт.

11

01643-30823

WASHER

SN: 60043-UP

1шт.

12

232-45-11610

BOLT

SN: 60001-UP

1шт.

13

01580-10806

NUT

SN: 60001-UP

1шт.

14

135-43-21480

SPRING

SN: 60001-UP

1шт.

15

232-45-11193

LEVER

SN: 60001-UP

1шт.

16

232-43-52320

BUSHING

SN: 60001-UP

2шт.

17

09304-01250

KNOB

SN: 60001-UP

1шт.

18

23A-45-11121

YOKE

SN: 60043-UP

1шт.

19

232-45-11220

PIN

SN: 60001-UP

1шт.

20

04025-00532

PIN,SPRING

SN: 60001-UP

1шт.

21

232-43-52320

BUSHING

SN: 60001-UP

2шт.

22

233-45-11140

LEVER

SN: 60001-UP

1шт.

23

04010-00519

KEY

SN: 60001-UP

1шт.

24

01010-50850

BOLT

SN: 60001-UP

1шт.

25

01643-30823

WASHER

SN: 60043-UP

1шт.

26

09463-00002

SPRING

SN: 60043-UP

1шт.

27

01643-30623

WASHER

SN: 60043-UP

2шт.

28

04050-11610

PIN,COTTER

SN: 60043-UP

2шт.

29

233-45-11153

GUIDE

SN: 60001-UP

1шт.

30

01220-40840

SCREW

SN: 60001-UP

4шт.

31

01641-20812

WASHER

SN: 60001-UP

4шт.

32

01010-51230

BOLT

SN: 60001-UP

4шт.

33

01643-31232

WASHER

SN: 60001-UP

4шт.

Выбрано товаров: 34