Запчасти Komatsu GD650A-1 ОБОГРЕВАТЕЛЬ. УПРАВЛЯЮЩ. КЛАПАН SUPERSTRUCTURE

Схема запчастей Komatsu GD650A-1 - ОБОГРЕВАТЕЛЬ. УПРАВЛЯЮЩ. КЛАПАН SUPERSTRUCTURE
9
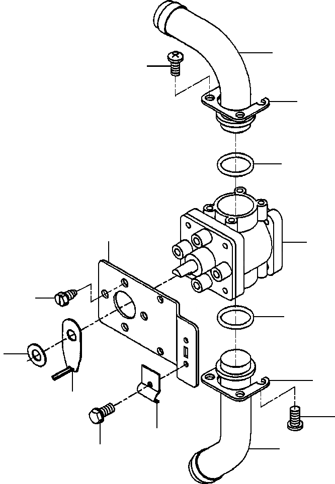
12
11
8
2
1
7
8
6
11
5
12
3
10
4
FIT
1:1
100%

Артикул

Название

Примечание

Количество

|$0

1251 199 H91

VALVE ASSEMBLY, HEATER CONTROL

1шт.

1

1431 241 H1

VALVE, HEATER

1шт.

2

1431 242 H1

BRACKET, CABLE

1шт.

3

1431 243 H1

CLAMP, CABLE

1шт.

4

450 644

SCREW, HEX WASHER HEAD

1шт.

5

1431 244 H1

LEVER, VALVE CONTROL

1шт.

6

1431 245 H1

RETAINER

1шт.

7

1431 252 H1

SCREW, SLOTTED HEX WASHER HEAD

2шт.

8

298 385 R1

O-RING

2шт.

9

1431 246 H1

ELBOW - 90

1шт.

10

1431 247 H1

ELBOW - 60°

1шт.

11

1431 248 H1

RETAINER

2шт.

12

9419 926

SCREW, PAN HEAD SELF-TAPPING

8шт.

Выбрано товаров: 13