Запчасти Komatsu GD650A-2 ОМЫВАТЕЛЬ СТЕКЛА УСТАНОВКА НИЖН. ПЕРЕДН. ОКНАS SUPERSTRUCTURE

Схема запчастей Komatsu GD650A-2 - ОМЫВАТЕЛЬ СТЕКЛА УСТАНОВКА НИЖН. ПЕРЕДН. ОКНАS SUPERSTRUCTURE
3
5
2
6
5
6
7
4
7
9
4
8
1
10
FIT
1:1
100%

Артикул

Название

Примечание

Количество

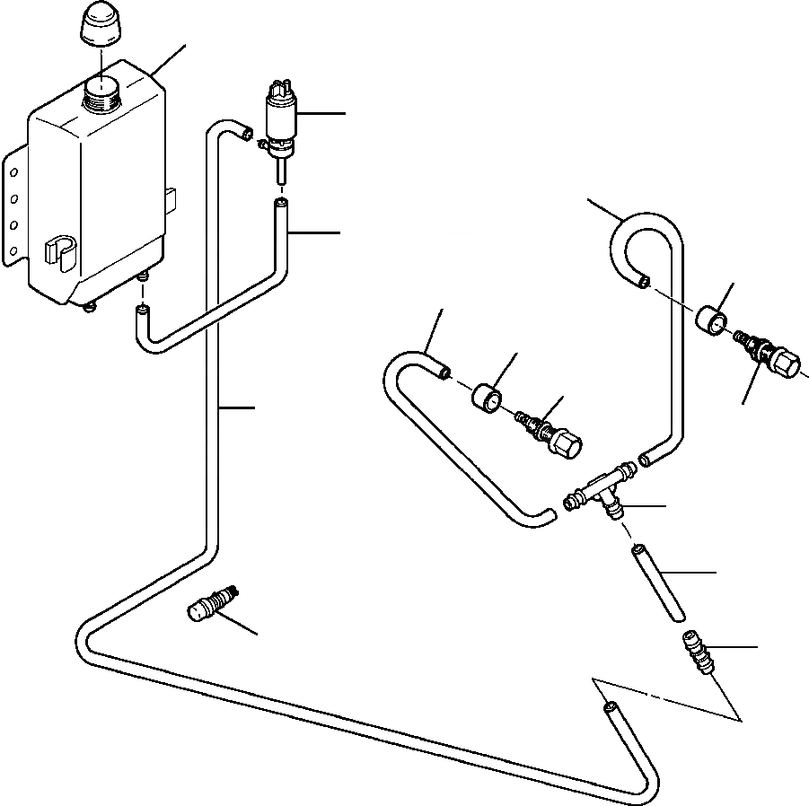
1

TANK, WINDOW WASHER (SEE PG 13-050)

-29шт.

2

940 455 C2

HOSE - 7 IN

1шт.

3

1212 589 H1

PUMP

1шт.

4

940 455 C2

HOSE - 110 IN

1шт.

|$4

1200 801 H1

CLIP, HOSE

2шт.

5

940 455 C2

HOSE - 5 IN

2шт.

6

23 323 H

SPACER

2шт.

7

940 457 C91

WASHER, JET

2шт.

|$8

944 032 C1

NOZZLE

1шт.

8

1277 931 H1

VALVE, CHECK

1шт.

9

940 821 C1

TEE

1шт.

10

SWITCH, WIPER/WASHER (SEE PG 11-002)

-29шт.

|$15

-1шт.

|$13

F1 - MAKE FROM 940 455 C2 (0.312 O.D. x 50 FT)

-1шт.

|$14

BY CUTTING TO LENGTH DESIRED

-1шт.

Выбрано товаров: 15