Качественные детали и логистика
Оригинальные и аналоговые запчасти с доставкой по России, Казахстану и Беларуси
©2022 PartSell ООО "Система" ИНН 2463123282 ОГРН 1212400004838
Центральный офис: г. Красноярск, Академика Киренского, д.87, пом.4
Телефон: 8 (800) 777-65-74 Email: zakaz@partsell.ru
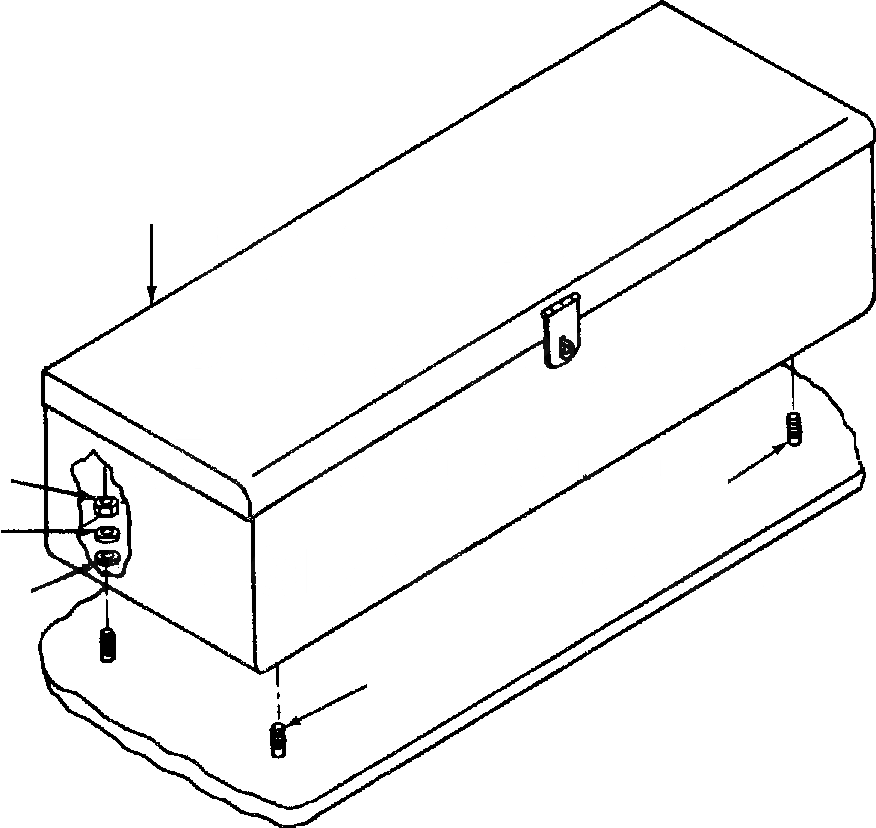
ЯЩИК Д/ИНСТРУМЕНТА & ИНСТРУМЕНТ
№
Артикул
Название
Примечание
Количество
1
325 479 R91
BOX, TOOL
1шт.
2
33 384 H45
WASHER, LOCK
4шт.
3
75 014
WASHER, PLAIN
4
44 870
NUT, HEX
5
48 204
STUD
N/I
124 888
KIT, TOOL
|$6
29 000
WRENCH, AXLE NUT
|$7
32 570
GUN, GREASE
|$8
78 678
WRENCH, SPANNER
|$9
84 905
WRENCH, WHEEL LUG
|$10
1287 470 H91
ADAPTER, TEST PORT TO ZERK
Выбрано товаров: 0