Запчасти Komatsu GD650A-2CY FIG. H-A ПЕРЕДН. WING POST ЦИЛИНДР ЛИНИЯ АКТУАТОРАS ГИДРАВЛИКА

Схема запчастей Komatsu GD650A-2CY - FIG. H-A ПЕРЕДН. WING POST ЦИЛИНДР ЛИНИЯ АКТУАТОРАS ГИДРАВЛИКА
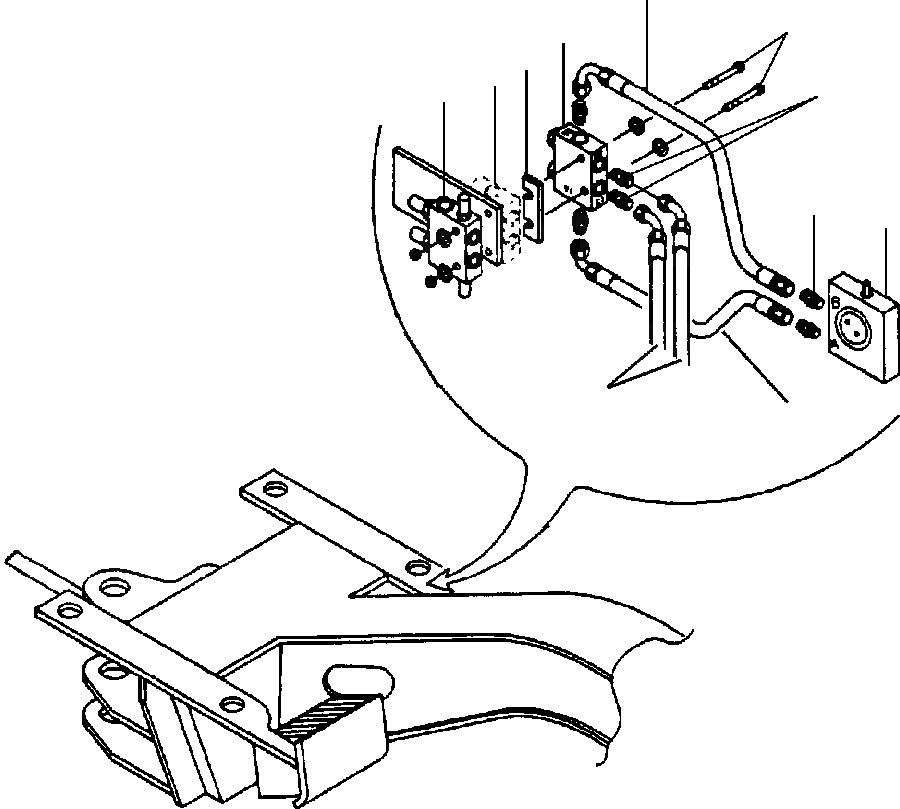
5
4
6
7
8
9
2
2
1
10
3
FIT
1:1
100%

Артикул

Название

Примечание

Количество

1

VALVE, OPTIONAL - LH BANK (SEE FIG. H5180-02A7)

SN: 211061-211069-UP

1шт.

2

9410 203

CONNECTOR

SN: 211061-211069-UP

6шт.

|$2

570 828 R1

O-RING

SN: 211061-211069-UP

6шт.

3

1253 057 H1

HOSE

SN: 211061-211069-UP

1шт.

4

26 704 R1

BOLT - FOR 1 DUAL COUNTERBALANCE VALVE

SN: 211061-211069-UP

2шт.

|$5

OR

SN: 211061-211069-UP

-1шт.

4

26 706 R1

BOLT - FOR 2 DUAL COUNTERBALANCE VALVES

SN: 211061-211069-UP

2шт.

5

1253 470 H1

HOSE

SN: 211061-211069-UP

1шт.

6

VALVE, DUAL COUNTERBALANCE (SEE FIG. H5180-02A23)

SN: 211061-211069-UP

1шт.

7

1253 497 H1

SPACER

SN: 211061-211069-UP

1шт.

8

VALVE, DUAL COUNTERBALANCE (SEE FIG. H5180-02A23)

SN: 211061-211069-UP

1шт.

9

VALVE, DUAL COUNTERBALANCE AND RELIEF (SEE FIG. H5180-01A23)

1шт.

10

HOSE (SEE HENKE WING DOCUMENTS)

SN: 211061-211069-UP

2шт.

Выбрано товаров: 0