Запчасти Komatsu GD650A-2CY FIG. J7-A ТОЛКАЮЩ. ПЛАСТИН. - БЕЗ СЦЕПКА ПАЛЕЦ ОСНОВНАЯ РАМА И ЕЕ ЧАСТИ

Схема запчастей Komatsu GD650A-2CY - FIG. J7-A ТОЛКАЮЩ. ПЛАСТИН. - БЕЗ СЦЕПКА ПАЛЕЦ ОСНОВНАЯ РАМА И ЕЕ ЧАСТИ
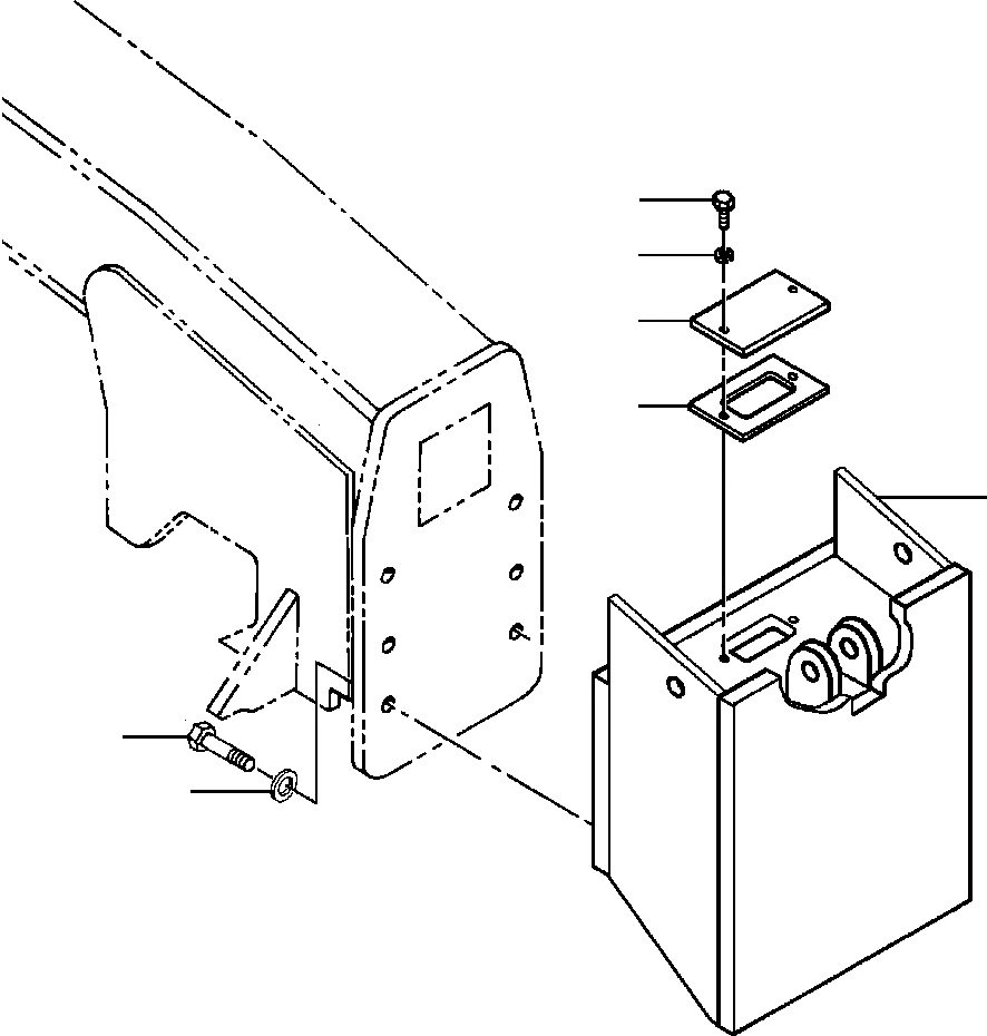
1
2
3
4
5
6
7
FIT
1:1
100%

Артикул

Название

Примечание

Количество

1

24 861 R1

BOLT

2шт.

2

25 546 R1

WASHER, FLAT

2шт.

3

159 002

COVER

1шт.

4

159 003

GASKET

1шт.

5

1434 878 H91

PLATE, PUSH - 1000 LBS.

1шт.

|$7

OR

-1шт.

|$9

1439 902 H91

PLATE, PUSH - 2000 LBS.

1шт.

6

25 845 R1

BOLT

6шт.

7

25 550 R1

WASHER, LOCK

6шт.

Выбрано товаров: 9