Запчасти Komatsu GD650A-2CY FIG. K-A WINDЗАЩИТН. ОМЫВАТЕЛЬ - НИЖН. ПЕРЕДН. ОКНАS КАБИНА ОПЕРАТОРА И СИСТЕМА УПРАВЛЕНИЯ

Схема запчастей Komatsu GD650A-2CY - FIG. K-A WINDЗАЩИТН. ОМЫВАТЕЛЬ - НИЖН. ПЕРЕДН. ОКНАS КАБИНА ОПЕРАТОРА И СИСТЕМА УПРАВЛЕНИЯ
1
3
2
7
4
8
7
6
4
8
9
5
FIT
1:1
100%

Артикул

Название

Примечание

Количество

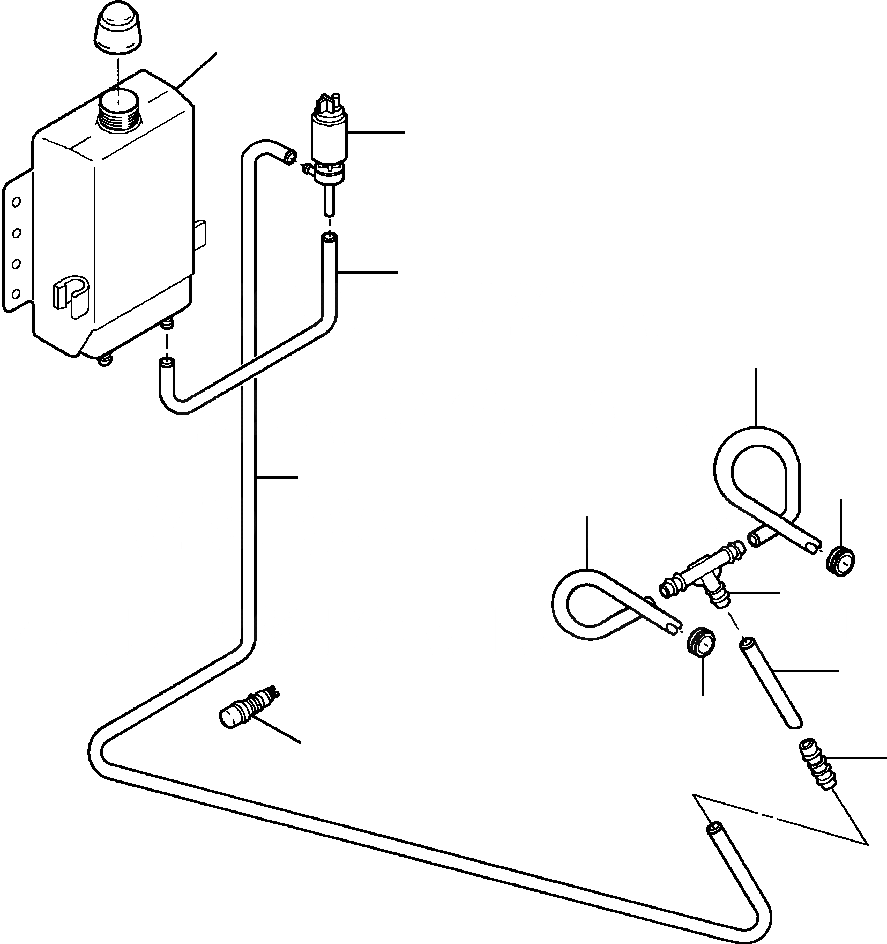
1

1250 358 H1

TANK, WINDOW WASHER

1шт.

2

HOSE - 7 IN.

1шт.

3

1212 589 H1

PUMP

1шт.

4

HOSE - 110 IN.

1шт.

|$4

1200 801 H1

CLIP, HOSE

2шт.

5

1277 931 H1

VALVE, CHECK

1шт.

6

1434 609 H1

TEE

1шт.

|$7

ARM, WIPER (SEE FIG. K5230-01A2)

2шт.

7

1200 802 H1

HOSE

2шт.

8

187 540

GROMMET

2шт.

9

SWITCH, WIPER/WASHER (SEE FIG. E5260-01A0A)

1шт.

|$11

-1шт.

|$12

F1 CUT TO LENGTH FROM 940 455 C2

-1шт.

|$13

-1шт.

|$14

-1шт.

|$15

F2 CUT TO LENGTH FROM 1200 802 H1

-1шт.

|$16

-1шт.

Выбрано товаров: 0