Качественные детали и логистика
Оригинальные и аналоговые запчасти с доставкой по России, Казахстану и Беларуси
©2022 PartSell ООО "Система" ИНН 2463123282 ОГРН 1212400004838
Центральный офис: г. Красноярск, Академика Киренского, д.87, пом.4
Телефон: 8 (800) 777-65-74 Email: zakaz@partsell.ru
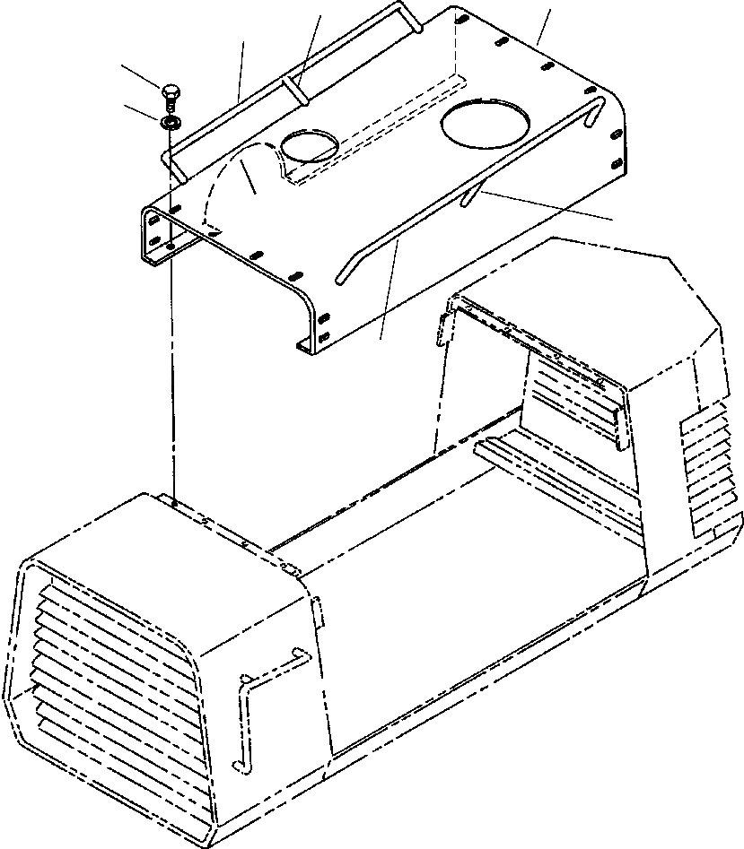
FIG. M-A КАПОТ TOP - заводской номер 8 И UP
№
Артикул
Название
Примечание
Количество
1
1440 171 H91
HOOD WELDMENT
1шт.
2
1250 695 H1
TUBE
2шт.
3
1279 451 H1
HOLD, HAND
4
26 309 R1
BOLT
16шт.
5
25 896 R1
WASHER, FLAT
6
1440 176 H1
TRIM
Выбрано товаров: 0