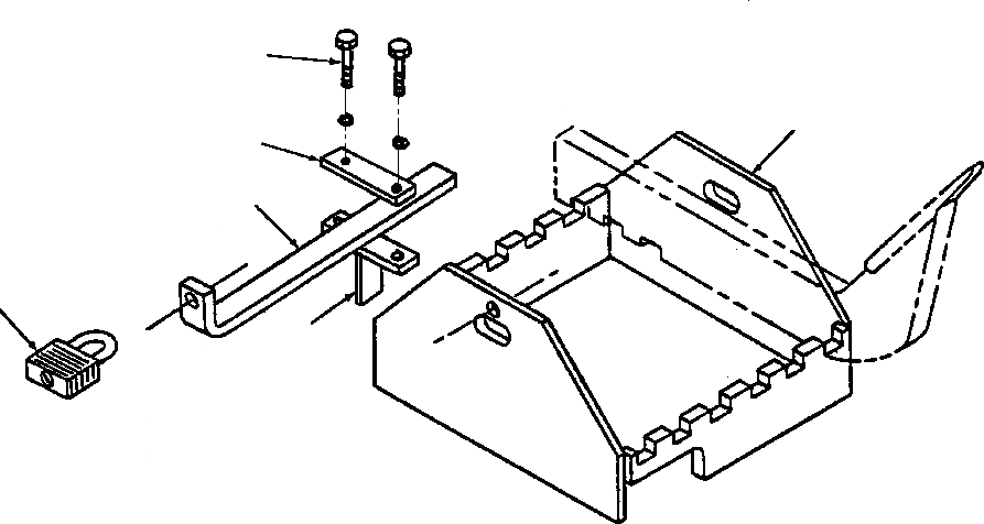
Запчасти Komatsu GD650A-2CY FIG. V-A SCARAFIER ЗУБЬЯSTORAGE АКСЕССУАРЫ

Схема запчастей Komatsu GD650A-2CY - FIG. V-A SCARAFIER ЗУБЬЯSTORAGE АКСЕССУАРЫ
6
2
5
3
4
1
FIT
1:1
100%

Артикул

Название

Примечание

Количество

1

650 382 C92

PADLOCK

1шт.

|$1

1311 216 H1

KEYS

1шт.

2

152 691

BRACKET WELDMENT

1шт.

3

152 692

LOCK, BAR

1шт.

4

161 860 H45

RETAINER WELDMENT, SHANK

1шт.

5

161 861

BAR

1шт.

6

24 841 R1

BOLT

2шт.

|$7

25 554 R1

WASHER, FLAT

2шт.

Выбрано товаров: 8