Запчасти Komatsu GD650A-2CY FIG. B9-A EHTER ВПРЫСК STARTING AID КОМПОНЕНТЫ ДВИГАТЕЛЯ

Схема запчастей Komatsu GD650A-2CY - FIG. B9-A EHTER ВПРЫСК STARTING AID КОМПОНЕНТЫ ДВИГАТЕЛЯ
27
24
26
25
23
1
22
21
7
6
2
8
6
3
20
5
19
9
18
17
16
15
11
12
13
14
10
4
FIT
1:1
100%

Артикул

Название

Примечание

Количество

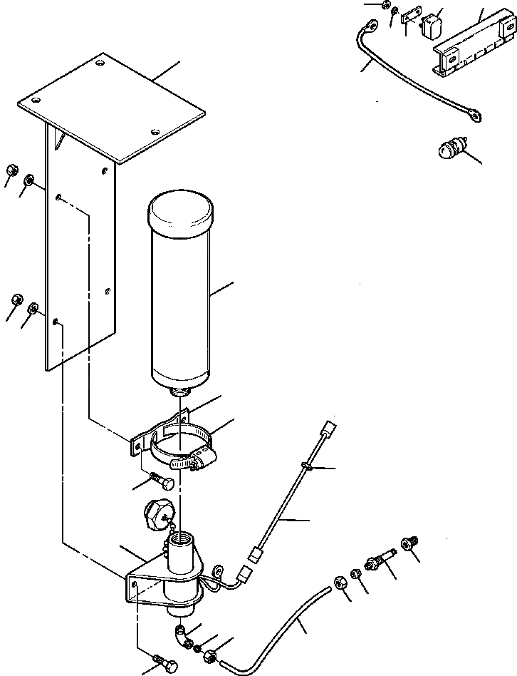
1

1260 459 H91

BRACKET, MOUNTING

1шт.

2

255 817 C92

CYLINDER, ETHER

1шт.

|$2

1258 780 H91

CLAMP ASSEMBLY, CYLINDER

1шт.

3

1258 096 H1

CRADLE

1шт.

4

122 322 R91

CLAMP, CYLINDER

1шт.

5

25 228 R1

BOLT

2шт.

6

120 214

WASHER, LOCK

4шт.

7

25 520 R1

NUT, HEX

2шт.

8

120 376

NUT, HEX

2шт.

9

1211 048 H91

VALVE, ETHER INJECTOR

1шт.

|$10

180 077

BOLT

2шт.

10

140 304

ELBOW ASSEMBLY

1шт.

11

140 303

ELBOW - 90°

1шт.

12

121 322

SLEEVE

1шт.

13

121 220

NUT

1шт.

14

83 814

TUBE, ETHER - 8.5 FT.

1шт.

15

121 220

NUT

1шт.

16

121 322

SLEEVE

1шт.

17

1249 319 H1

ATOMIZER

1шт.

18

NOT USED

-1шт.

19

1434 620 H1

CABLE

1шт.

20

120 408

GROMMET

1шт.

21

453 453 C1

SWITCH, PUSH BUTTON-ETHER START

1шт.

22

1434 621 H1

CABLE

1шт.

23

1106 459 C1

BAR, BUSS

1шт.

24

141 658

BREAKER, CIRCUIT - 15 AMP

1шт.

25

120 217

WASHER, LOCK

2шт.

26

120 614

NUT, HEX

2шт.

27

BRACKET, CIRCUIT BREAKER (SEE FIG. E5260-01A0A)

1шт.

|$29

-1шт.

|$30

F1 PURCHASE LOCALLY

-1шт.

|$31

-1шт.

Выбрано товаров: 0