Запчасти Komatsu GD650A КАБИНА УСТАНОВКА SUPERSTRUCTURE

Схема запчастей Komatsu GD650A - КАБИНА УСТАНОВКА SUPERSTRUCTURE
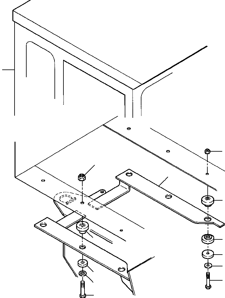
6
5
11
12
4
4
10
3
2
9
1
8
7
FIT
1:1
100%

Артикул

Название

Примечание

Количество

|$0

1251 973 H91

CAB INSTALLATION

1шт.

1

24 895 R1

BOLT

2шт.

2

25 538 R1

WASHER, FLAT

2шт.

3

112 434

WASHER, SPECIAL - ROPS

2шт.

4

113 985

MOUNT, RUBBER

4шт.

5

9413 983

NUT, LOCK

2шт.

6

CAB ASSEMBLY (SEE PG 13-052)

-29шт.

7

26 720 R1

BOLT

4шт.

8

25 550 R1

WASHER, FLAT

4шт.

9

1244 349 H1

WASHER, SPECIAL - ROPS

4шт.

10

213 042 H1

MOUNT, RUBBER

4шт.

11

9414 002

NUT, LOCK

4шт.

12

FRAME (SEE PG 09-002)

-29шт.

Выбрано товаров: 13