Запчасти Komatsu GD650A КАБИНА ДВЕРЬ НИЗ. PROFILE - ЛЕВ. SUPERSTRUCTURE

Схема запчастей Komatsu GD650A - КАБИНА ДВЕРЬ НИЗ. PROFILE - ЛЕВ. SUPERSTRUCTURE
35
36
37
38
34
39
9
33
32
10
11
23
22
21
25
5
30
4
6
31
29
24
2
27
7
3
28
26
8
11
13
9
1
12
21
19
18
14
20
15
16
17
18
19
20
21
FIT
1:1
100%

Артикул

Название

Примечание

Количество

|$0

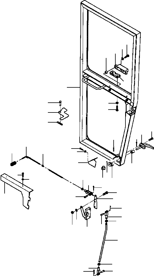
1433 783 H92

DOOR - L.H

1шт.

1

1433 188 H91

COVER WELDMENT

1шт.

2

443 874

SCREW

3шт.

3

120 391

WASHER, FLAT

3шт.

4

1210 166 H1

CAP

1шт.

|$5

1244 532 H1

KNOB

1шт.

5

1433 126 H1

ROD

1шт.

|$7

1436 404 H1

ROD

1шт.

6

1244 591 H1

BUSHING

1шт.

|$9

1436 409 H1

BUSHING

1шт.

7

120 613

NUT, JAM

1шт.

8

116 383

CLEVIS

1шт.

9

138 083

PIN, CLEVIS

2шт.

10

1433 128 H1

LEVER

1шт.

11

103 362

PIN, COTTER

2шт.

12

1433 129 H1

ARM, DOOR LINKAGE

1шт.

13

25 222 R1

BOLT

2шт.

14

120 392

WASHER

2шт.

15

273 924

NUT, LOCK

2шт.

16

1266 239 H91

LATCH

1шт.

|$20

1437 314 H1

SCREW. MACHINE

4шт.

17

1433 127 H1

ROD, LINKAGE

1шт.

18

25 395 R1

NUT, JAM

2шт.

19

144 242

CLEVIS

2шт.

20

121 741

PIN, CLEVIS

2шт.

21

103 373

PIN, COTTER

3шт.

22

1244 516 H3

HANDLE, LOCKING

1шт.

|$27

1434 434 H1

KEY

1шт.

23

155 945

SCREW, MACHINE

2шт.

24

1434 422 H1

SPACER

1шт.

25

1434 511 H1

SPRING

1шт.

26

1434 855 H2

LEVER, TRIP

1шт.

27

127 782

SCREW, SET

1шт.

28

1432 355 H1

BUSHING

1шт.

29

1433 124 H1

COVER, BOTTOM

1шт.

30

443 874

SCREW

2шт.

31

120 391

WASHER, FLAT

2шт.

32

156 265

BOLT

2шт.

|$38

1437 314 H1

SCREW, MOUNTING

3шт.

33

138 604

WASHER, LOCK

2шт.

34

1244 589 H1

LATCH

1шт.

|$41

1437 325 H91

LATCH

1шт.

|$42

1437 562 H1

WASHER, MOUNTING

4шт.

35

160 556

SCREW, PAN HEAD

2шт.

36

120 392

WASHER, FLAT

2шт.

37

1434 876 H2

COVER

1шт.

38

1432 357 H1

SPACER

2шт.

39

1431 964 H91

DOOR WELDMENT

1шт.

|$57

-1шт.

|$49

F1 - S/N 202002 THRU 202969, ORDER THE FOLLOWING:

-1шт.

|$50

1438 324 H91

KIT, DOOR-LATCH IMPROVEMENT

1шт.

|$58

-1шт.

|$52

F2 - S/N 202970 AND UP

-1шт.

|$59

-1шт.

|$60

-1шт.

|$55

-1шт.

|$56

-1шт.

Выбрано товаров: 57