Запчасти Komatsu GD650A РАДИАТОР/МАСЛООХЛАДИТЕЛЬ заводской номер 8 & UP ОХЛАЖД-Е

Схема запчастей Komatsu GD650A - РАДИАТОР/МАСЛООХЛАДИТЕЛЬ заводской номер 8 & UP ОХЛАЖД-Е
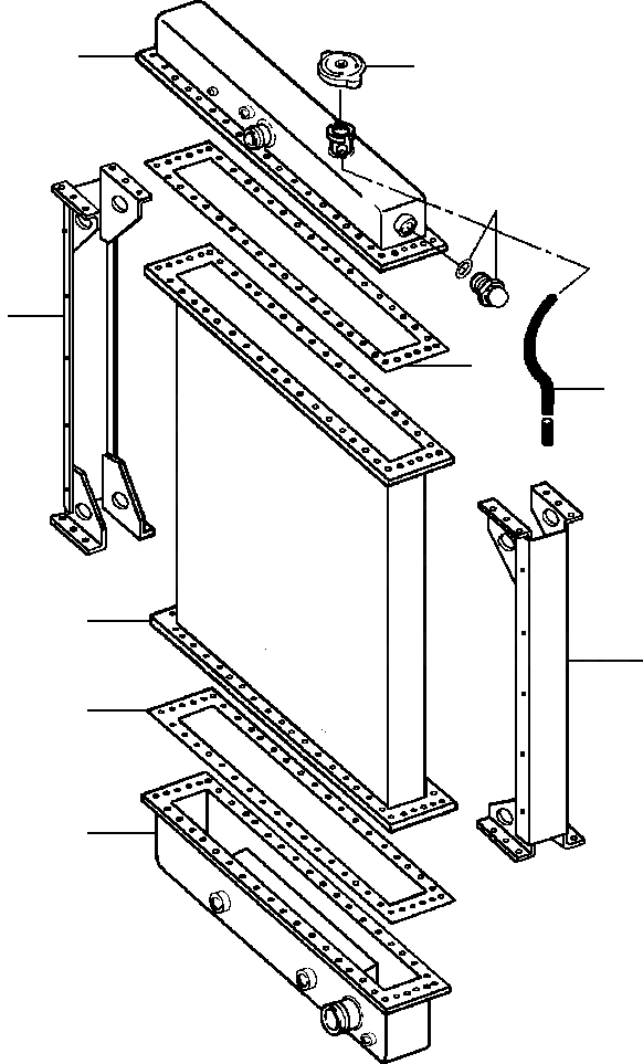
1
2
3
7
5
4
8
6
5
9
FIT
1:1
100%

Артикул

Название

Примечание

Количество

|$0

1430 476 H93

RADIATOR/OIL COOLER

1шт.

1

1431 088 H1

TANK ASSEMBLY, TOP

1шт.

2

73 736

CAP, RADIATOR

1шт.

3

1431 086 H1

GLASS, SIGHT

1шт.

|$4

NSS

O-RING

1шт.

4

86 412

HOSE - 5'

1шт.

|$6

1431 087 H1

CLIP, HOSE

2шт.

5

1431 085 H1

GASKET - 2 PIECES PER USAGE

4шт.

6

1431 089 H1

CHANNEL - R.H

1шт.

7

1434 993 H1

CHANNEL - L.H

1шт.

8

1434 994 H1

CORE

1шт.

9

1434 992 H2

COOLER, BOTTOM TANK & OIL

1шт.

N/I

1431 091 H1

STRIP, CLAMP - 4 HOLES

2шт.

|$13

1431 092 H1

STRIP, CLAMP - 18 HOLES

2шт.

|$14

1431 209 H91

KIT, BOLT

1шт.

|$15

25 493 R1

BOLT

88шт.

|$16

120 214

WASHER, LOCK

88шт.

|$17

25 520 R1

NUT, HEX

88шт.

Выбрано товаров: 18