Запчасти Komatsu GD650A ETHER ВПРЫСК STARTING AID POWER

Схема запчастей Komatsu GD650A - ETHER ВПРЫСК STARTING AID POWER
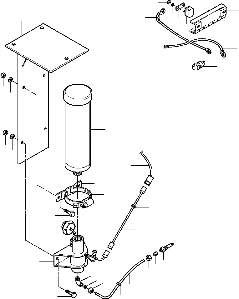
26
27
22
25
1
23
24
28
21
7
6
2
8
6
29
3
4
20
5
19
9
18
17
16
11
12
13
14
10
15
FIT
1:1
100%

Артикул

Название

Примечание

Количество

|$0

1434 161 H91

STARTING AID, ETHER INJECTION

1шт.

1

1260 459 H91

BRACKET, MOUNTING

1шт.

2

255 817 C92

CYLINDER, ETHER

1шт.

|$3

1258 780 H91

CLAMP ASSEMBLY, CYLINDER

1шт.

3

1258 096 H1

CRADLE

1шт.

4

122 322 R91

CLAMP, CYLINDER

1шт.

5

25 228 R1

BOLT

2шт.

6

120 214

WASHER, LOCK

4шт.

7

25 520 R1

NUT, HEX

2шт.

8

120 376

NUT, HEX

2шт.

9

1211 047 H91

VALVE, ETHER INJECTOR

1шт.

10

180 077

BOLT

2шт.

|$12

140 304

ELBOW ASSEMBLY

1шт.

11

140 303

ELBOW - 90°

1шт.

12

121 322

SLEEVE

1шт.

13

121 220

NUT

1шт.

14

83 814

TUBE, ETHER - 8.5 FT

1шт.

|$17

299 398 C1

CLAMP, HOSE

6шт.

15

121 220

NUT

1шт.

16

121 322

SLEEVE

1шт.

17

1249 319 H1

ATOMIZER

1шт.

18

444 030

BUSHING, REDUCER

1шт.

19

1434 620 H1

CABLE

1шт.

20

120 408

GROMMET

1шт.

21

453 453 C1

SWITCH, PUSH BUTTON-ETHER START

1шт.

22

1434 621 H1

CABLE

1шт.

23

1106 459 C1

BAR, BUSS

1шт.

24

141 658

BREAKER, CIRCUIT - 15 AMP

1шт.

25

120 217

WASHER, LOCK

2шт.

26

120 614

NUT, HEX

2шт.

27

BRACKET, CIRCUIT BREAKER (SEE PG 11-002)

-29шт.

28

NSS

WIRE #28 IN SWITCH PANEL HARNESS

1шт.

29

NSS

WIRE #28 IN MAIN HARNESS

1шт.

|$39

-1шт.

|$34

F1 - PURCHASE LOCALLY.

-1шт.

|$40

-1шт.

|$41

-1шт.

|$37

F2 - MAKE FROM:

-1шт.

|$38

83 814 (0.125 IN. O.D. X 250 FT.) CUT TO LENGTH DESIRED.

-1шт.

Выбрано товаров: 39