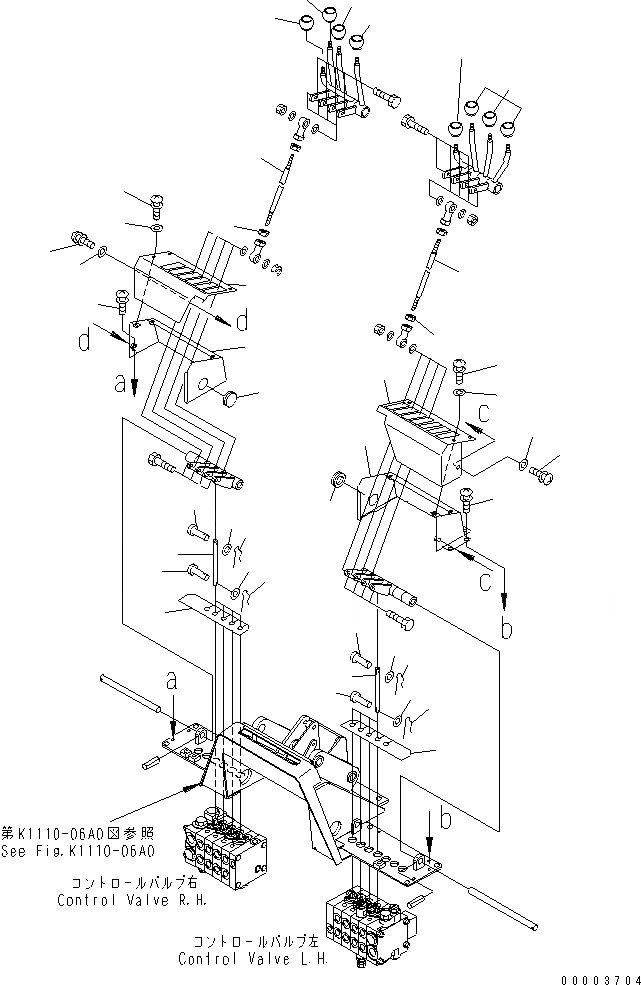
Запчасти Komatsu GD655-3A КЛАПАН РЫЧАГ УПРАВЛ-Я КАБИНА ОПЕРАТОРА И СИСТЕМА УПРАВЛЕНИЯ

Схема запчастей Komatsu GD655-3A - КЛАПАН РЫЧАГ УПРАВЛ-Я КАБИНА ОПЕРАТОРА И СИСТЕМА УПРАВЛЕНИЯ
1
1
1
1
2
2
2
2
3
3
3
3
4
4
5
5
6
6
7
8
9
10
11
11
12
12
15
15
15
15
16
16
17
17
17
17
18
18
18
18
19
20
FIT
1:1
100%

Артикул

Название

Примечание

Количество

1

04205-10518

PIN

SN: 10001-UP

16шт.

2

01640-20508

WASHER

SN: 10001-UP

16шт.

3

04052-10530

PIN,SNAP

SN: 10001-UP

16шт.

4

23B-43-33410

ROD

SN: 10001-UP

8шт.

5

23B-43-35513

ROD

SN: 10001-UP

8шт.

5

0

ROD

SN: (10001-11034)

8шт.

6

01508-40805

NUT,L.H. THREAD

SN: 10001-UP

8шт.

7

23B-43-35525

COVER,L.H.

SN: 10001-UP

1шт.

8

23C-43-35530

COVER,L.H.

SN: 11479-UP

1шт.

8

0

COVER,L.H.

SN: 10001-11478

1шт.

9

23B-43-35545

COVER,R.H.

SN: 10001-UP

1шт.

10

23C-43-35550

COVER,R.H.

SN: 11479-UP

1шт.

10

0

COVER,R.H.

SN: 10001-11478

1шт.

11

09415-02512

CAP

SN: 10001-UP

2шт.

12

01023-20820

SCREW

SN: 10001-UP

8шт.

15

237-43-17480

KNOB

SN: 10001-UP

6шт.

16

237-43-17490

KNOB

SN: 10001-UP

2шт.

17

01023-20810

SCREW

SN: 10001-UP

8шт.

18

01643-70823

WASHER

SN: 10001-UP

8шт.

19

23B-43-36510

COVER,L.H.

SN: 10001-UP

1шт.

20

23B-43-36520

COVER,R.H.

SN: 10001-UP

1шт.

Выбрано товаров: 21