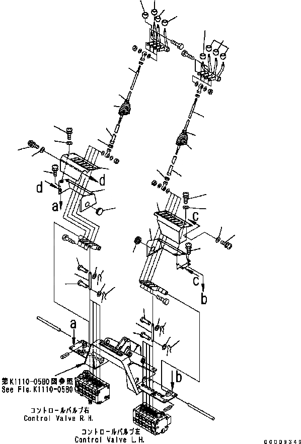
Запчасти Komatsu GD655-3C КЛАПАН РЫЧАГ УПРАВЛ-Я КАБИНА ОПЕРАТОРА И СИСТЕМА УПРАВЛЕНИЯ

Схема запчастей Komatsu GD655-3C - КЛАПАН РЫЧАГ УПРАВЛ-Я КАБИНА ОПЕРАТОРА И СИСТЕМА УПРАВЛЕНИЯ
16
15
16
15
15
15
5
20
21
5
19
17
6
20
18
17
21
18
6
12
10
19
9
17
8
11
18
18
7
17
12
1
11
2
3
4
2
1
1
2
3
4
2
1
3
3
FIT
1:1
100%

Артикул

Название

Примечание

Количество

1

04205-10518

PIN

SN: B15001-UP

16шт.

2

01640-20508

WASHER

SN: B15001-UP

16шт.

3

04052-10530

PIN {SNAP}

SN: B15001-UP

16шт.

4

23B-43-33410

ROD

SN: B15001-UP

8шт.

5

23B-43-35513

ROD

SN: B15001-UP

8шт.

6

01508-40805

NUT {L.H. THREAD}

SN: B15001-UP

8шт.

7

23B-43-35525

COVER

SN: B15001-UP

1шт.

8

23B-43-35535

COVER

SN: B15001-UP

1шт.

9

23B-43-35545

COVER

SN: B15001-UP

1шт.

10

23B-43-35555

COVER

SN: B15001-UP

1шт.

11

09415-02512

CAP

SN: B15001-UP

2шт.

12

01023-20820

SCREW

SN: B15001-UP

8шт.

15

237-43-17480

KNOB

SN: B15001-UP

6шт.

16

237-43-17490

KNOB

SN: B15001-UP

2шт.

17

01023-20810

SCREW

SN: B15001-UP

8шт.

18

01643-70823

WASHER

SN: B15001-UP

8шт.

19

23B-43-35881

PIPE

SN: B15001-UP

8шт.

20

07285-00180

CLIP

SN: B15001-UP

8шт.

21

23B-43-35641

BOOT

SN: B15001-UP

8шт.

Выбрано товаров: 0