Запчасти Komatsu GD661A-1 ГИДРАВЛ РЫЧАГ УПРАВЛ-Я (/) СИСТЕМА УПРАВЛЕНИЯ

Схема запчастей Komatsu GD661A-1 - ГИДРАВЛ РЫЧАГ УПРАВЛ-Я (/) СИСТЕМА УПРАВЛЕНИЯ
FIT
1:1
100%

Артикул

Название

Примечание

Количество

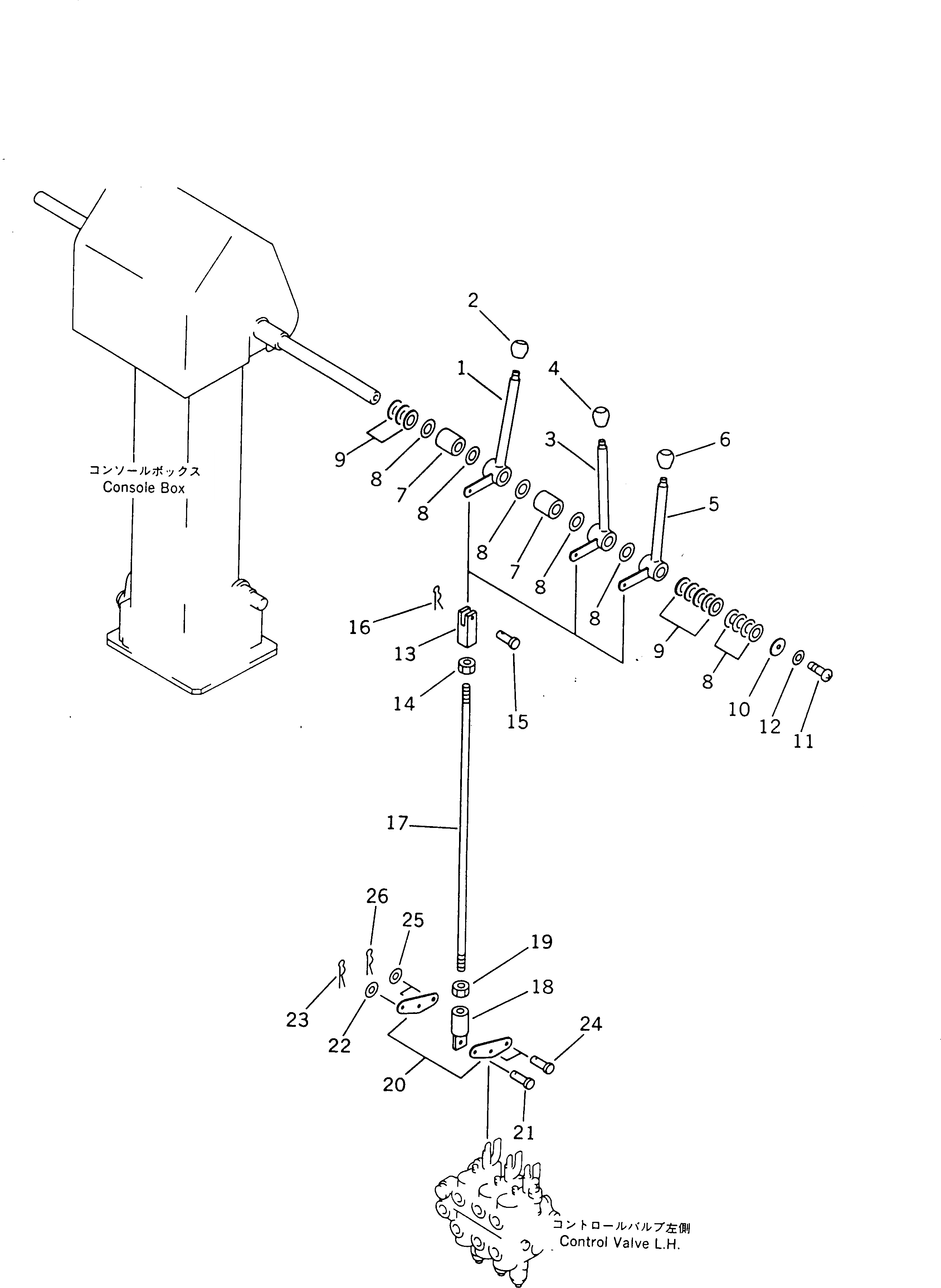
1

23A-43-18230

LEVER,CIRCLE REVERSE

SN: 10001-UP

1шт.

2

234-43-00320

KNOB ASS'Y,CIRCLE REVERSE

SN: 10001-UP

1шт.

2

237-43-17480

KNOB

SN: 10001-UP

1шт.

2

234-53-32320

PLATE, OPERATING

SN: 10001-UP

1шт.

3

23A-43-18230

LEVER,BLADE SIDE SHIFT

SN: 10001-UP

1шт.

4

237-43-00060

KNOB ASS'Y,BLADE SIDE SHIFT

SN: 10001-UP

1шт.

4

237-43-17480

KNOB

SN: 10001-UP

1шт.

4

237-54-13230

PLATE, OPERATING

SN: 10001-UP

1шт.

5

23A-43-18220

LEVER,BLADE LIFT, L.H.

SN: 10001-UP

1шт.

6

237-43-00080

KNOB ASS'Y,BLADE LIFT

SN: 10001-UP

1шт.

6

237-43-17480

KNOB

SN: 10001-UP

1шт.

6

237-54-13210

PLATE, OPERATING

SN: 10001-UP

1шт.

7

237-43-17440

COLLAR

SN: 10001-UP

2шт.

8

237-43-17420

WASHER

SN: 10001-UP

9шт.

9

23D-43-18540

COLLAR

SN: 10001-UP

8шт.

10

23A-43-18190

WASHER

SN: 10001-UP

1шт.

11

01220-40816

SCREW

SN: 10001-UP

1шт.

12

01643-30823

WASHER

SN: 10001-UP

1шт.

13

04221-20844

YOKE,L.H. THREAD

SN: 10001-UP

3шт.

14

01508-20805

NUT,L.H. THREAD

SN: 10001-UP

3шт.

15

04205-10822

PIN

SN: 10001-UP

3шт.

16

234-43-18710

PIN,SNAP

SN: 10001-UP

3шт.

17

23A-43-18460

ROD

SN: 10001-UP

3шт.

18

23A-43-18290

JOINT

SN: 10001-UP

3шт.

19

01580-10806

NUT

SN: 10001-UP

3шт.

20

23A-43-18320

PLATE

SN: 10001-UP

6шт.

21

04205-10616

PIN

SN: 10001-UP

3шт.

22

01641-20608

WASHER

SN: 10001-UP

3шт.

23

233-43-27750

PIN,SNAP

SN: 10001-UP

3шт.

24

23A-43-18360

PIN

SN: 10001-UP

6шт.

25

01641-20508

WASHER

SN: 10001-UP

6шт.

26

04052-00530

PIN,SNAP

SN: 10001-UP

6шт.

Выбрано товаров: 32