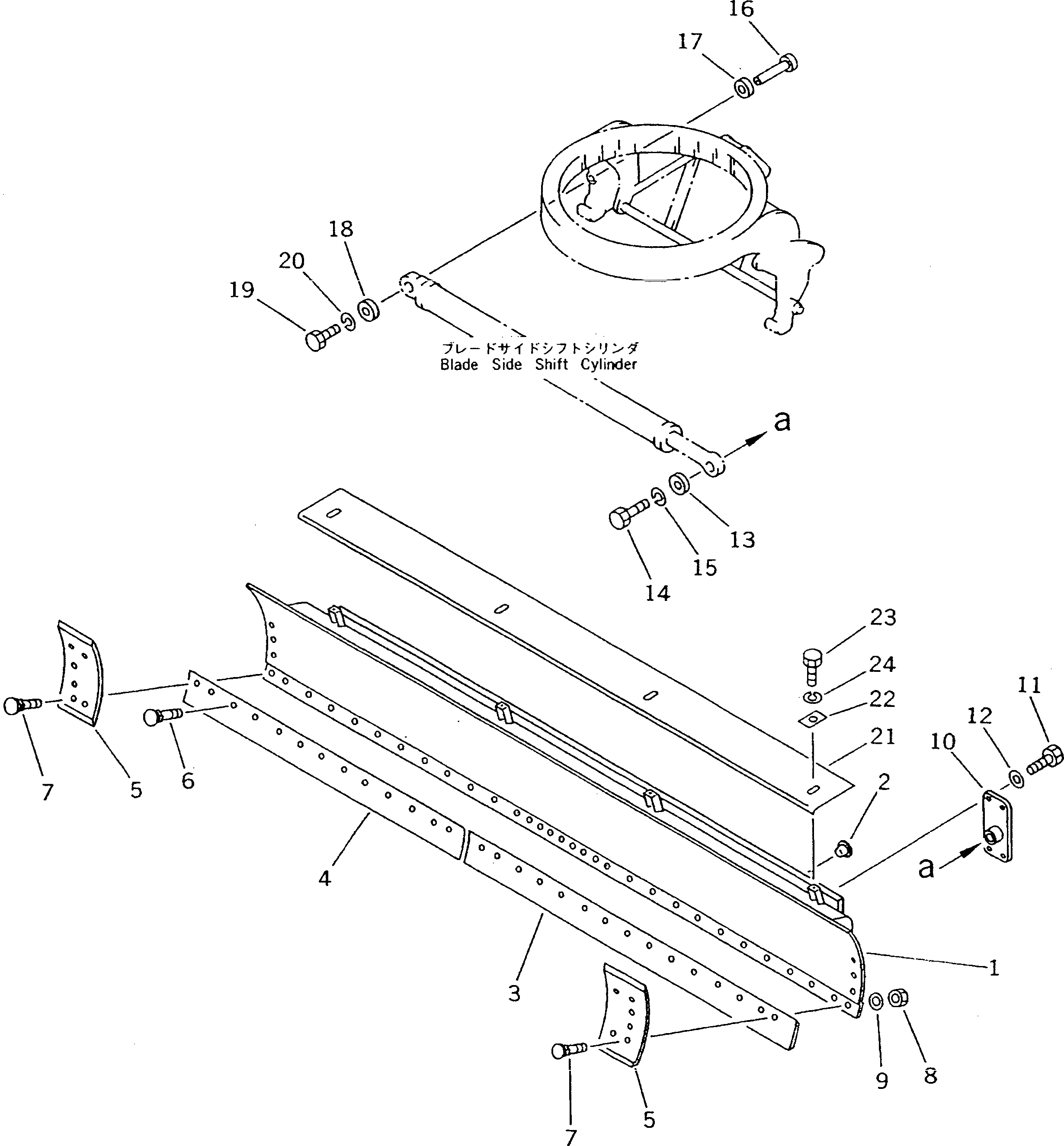
Запчасти Komatsu GD661A-1 ОТВАЛ¤ ШИР. MM РАБОЧЕЕ ОБОРУДОВАНИЕ

Схема запчастей Komatsu GD661A-1 - ОТВАЛ¤ ШИР. MM РАБОЧЕЕ ОБОРУДОВАНИЕ
FIT
1:1
100%

Артикул

Название

Примечание

Количество

1

23A-70-12410

BLADE

SN: 10001-UP

1шт.

1

23A-70-12430

RAIL,UPPER (WELDED)

SN: 10001-UP

1шт.

1

23A-70-12420

RAIL,LOWER (WELDED)

SN: 10001-UP

1шт.

2

07048-01510

PLUG

SN: 10001-UP

4шт.

3

234-70-12193

EDGE,L.H.

SN: 10001-UP

1шт.

4

232-70-12143

EDGE,R.H.

SN: 10001-UP

1шт.

5

232-70-52190

BIT,END

SN: 10001-UP

2шт.

6

232-70-12450

BOLT

SN: 10001-UP

30шт.

7

232-70-12460

BOLT

SN: 10001-UP

4шт.

8

232-70-12480

NUT

SN: 10001-UP

34шт.

9

01643-31645

WASHER

SN: 10001-UP

34шт.

10

23A-70-12121

BRACKET

SN: 10001-UP

1шт.

11

01010-81640

BOLT

SN: 10001-UP

4шт.

12

01643-31645

WASHER

SN: 10001-UP

4шт.

13

23A-70-12150

WASHER

SN: 10001-UP

1шт.

14

01010-81225

BOLT

SN: 10001-UP

1шт.

15

01643-31232

WASHER

SN: 10001-UP

1шт.

16

23A-70-12131

SHAFT

SN: 10001-UP

1шт.

17

23A-70-12140

COLLAR

SN: 10001-UP

1шт.

18

23A-70-12150

WASHER

SN: 10001-UP

1шт.

19

01010-81225

BOLT

SN: 10001-UP

1шт.

20

01643-31232

WASHER

SN: 10001-UP

1шт.

21

23B-70-12150

COVER

SN: 10001-UP

1шт.

22

234-70-12830

PLATE

SN: 10001-UP

4шт.

23

01010-81230

BOLT

SN: 10001-UP

4шт.

24

01643-31232

WASHER

SN: 10001-UP

4шт.

Выбрано товаров: 26