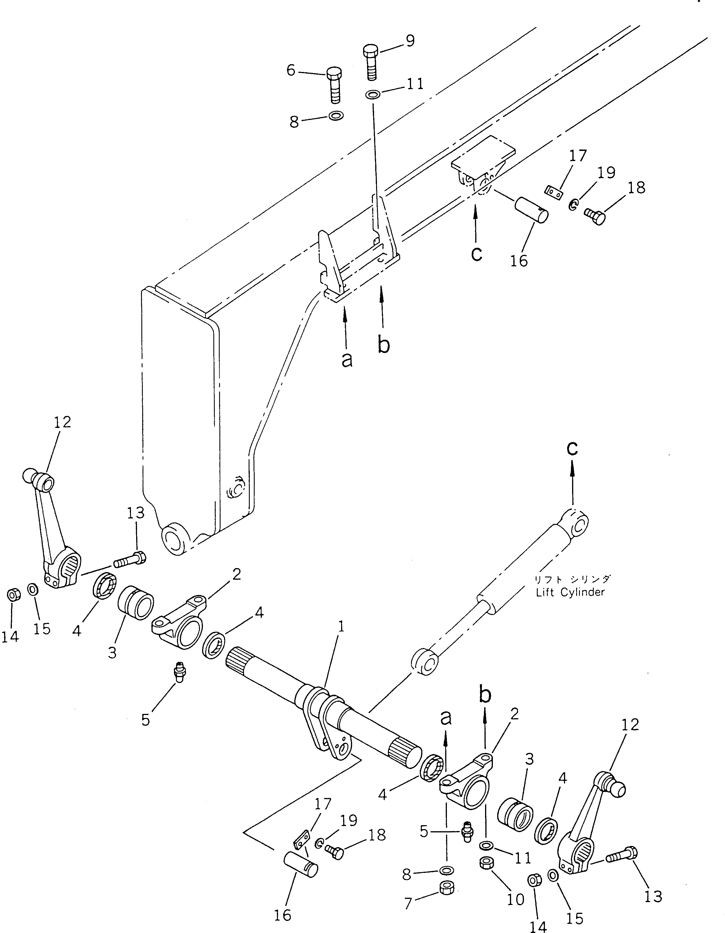
Запчасти Komatsu GD663A-2 SCARIFIER ПОДЪЕМ ОПЦИОННЫЕ КОМПОНЕНТЫ

Схема запчастей Komatsu GD663A-2 - SCARIFIER ПОДЪЕМ ОПЦИОННЫЕ КОМПОНЕНТЫ
FIT
1:1
100%

Артикул

Название

Примечание

Количество

G1

0

LIFT GROUP

SN: 1001-UP

1шт.

|$$2

====================

-1шт.

1

23B-71-11210

SHAFT

SN: 1001-UP

1шт.

2

23B-71-11190

SUPPORT

SN: 1001-UP

2шт.

3

23B-71-11280

BUSHING

SN: 1001-UP

2шт.

4

07145-00090

SEAL,DUST

SN: 1001-UP

4шт.

5

07020-00000

FITTING,GREASE

SN: 1001-UP

2шт.

6

01019-32000

BOLT

SN: 1001-UP

2шт.

7

01580-12016

NUT

SN: 1001-UP

2шт.

8

01643-32060

WASHER

SN: 1001-UP

4шт.

9

01091-52000

BOLT

SN: 1001-UP

2шт.

10

01582-12016

NUT

SN: 1001-UP

2шт.

11

01643-32060

WASHER

SN: 1001-UP

4шт.

12

232-71-52210

ARM

SN: 1001-UP

2шт.

13

01011-51610

BOLT

SN: 1001-UP

4шт.

14

01580-11613

NUT

SN: 1001-UP

4шт.

15

01643-31645

WASHER

SN: 1001-UP

4шт.

16

236-46-13460

PIN

SN: 1001-UP

2шт.

17

04082-00212

LOCK

SN: 1001-UP

2шт.

18

01010-51225

BOLT

SN: 1001-UP

4шт.

19

01643-31232

WASHER

SN: 1001-UP

4шт.

|$$22

====================

-1шт.

Выбрано товаров: 22