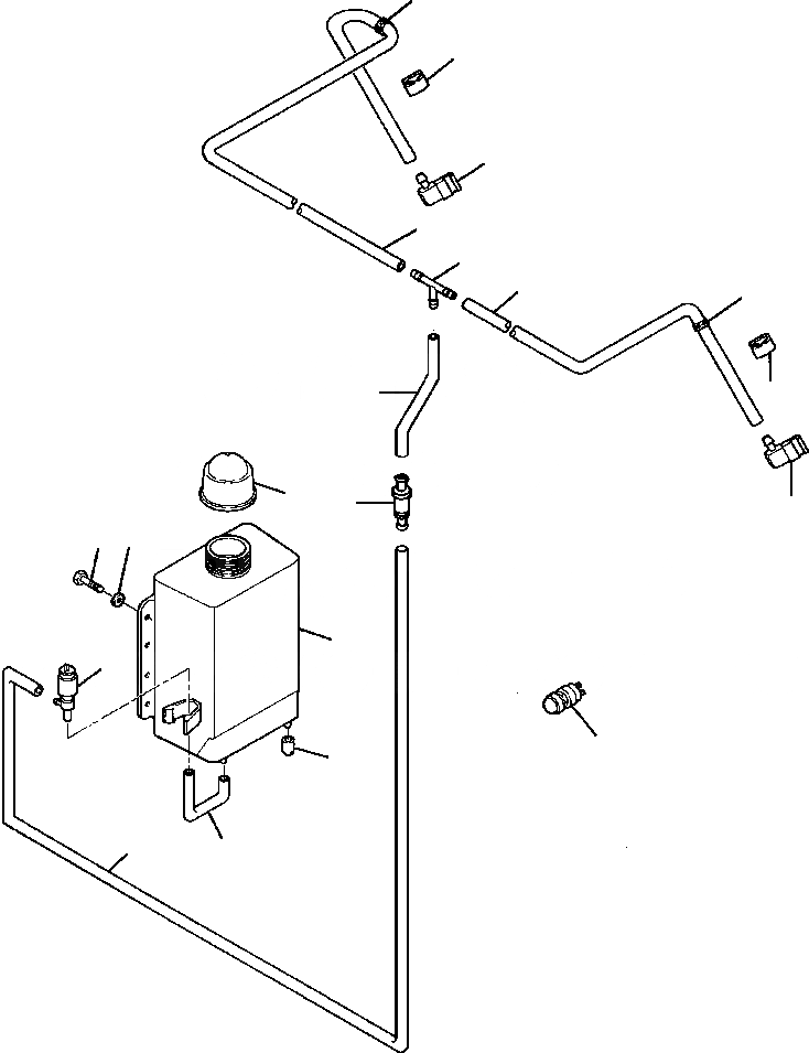
Запчасти Komatsu GD670A-1 ОМЫВАТЕЛЬ СТЕКЛА УСТАНОВКА ПЕРЕДН. & ЗАДН. SUPERSTRUCTURE

Схема запчастей Komatsu GD670A-1 - ОМЫВАТЕЛЬ СТЕКЛА УСТАНОВКА ПЕРЕДН. & ЗАДН. SUPERSTRUCTURE
3
2
1
13
14
15
3
10
2
7
16
1
6
5
4
9
11
8
12
10
FIT
1:1
100%

Артикул

Название

Примечание

Количество

1

1200 800 H1

NOZZLE, JET

2шт.

2

1200 801 H1

CLIP, HOSE

2шт.

3

187 540

GROMMET, HOSE

2шт.

4

1250 358 H1

TANK

1шт.

5

180 016

BOLT

2шт.

6

120 392

WASHER

2шт.

7

1250 468 H1

CAP, TANK

1шт.

8

1259 926 H1

CAP, RUBBER

1шт.

9

1212 589 H1

PUMP

1шт.

10

930 455 C2

HOSE - 7 IN

2шт.

11

453 453 C1

SWITCH, PUSH BUTTON - WASHER

1шт.

12

940 455 C2

HOSE - 84 IN

1шт.

13

1200 802 H1

HOSE - 54 IN

1шт.

14

1277 932 H1

TEE

1шт.

15

1200 802 H1

HOSE - 108 IN

1шт.

16

1277 931 H1

VALVE, CHECK

1шт.

|$22

-1шт.

|$17

F1 - MAKE FROM 940 455 C2 (0.312 O.D. x 50 FT)

-1шт.

|$18

BY CUTTING TO LENGTH DESIRED

-1шт.

|$23

-1шт.

|$20

F2 - MAKE FROM 1200 802 H1 (0.27 O.D. x 50 FT)

-1шт.

|$21

BY CUTTING TO LENGTH DESIRED

-1шт.

Выбрано товаров: 22