Запчасти Komatsu GD670A-1 ЯЩИК Д/ИНСТРУМЕНТА & ИНСТРУМЕНТ РАЗНОЕ

Схема запчастей Komatsu GD670A-1 - ЯЩИК Д/ИНСТРУМЕНТА & ИНСТРУМЕНТ РАЗНОЕ
4
5
2
3
5
1
FIT
1:1
100%

Артикул

Название

Примечание

Количество

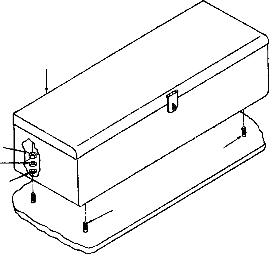
1

325 479 R91

BOX, TOOL

1шт.

2

33 384 H45

WASHER, LOCK

4шт.

3

75 014

WASHER, PLAIN

4шт.

4

44 870

NUT, HEX

4шт.

5

48 204

STUD

4шт.

N/I

124 888

KIT, TOOL

1шт.

|$6

29 000

WRENCH, AXLE NUT

1шт.

|$7

32 570

GUN, GREASE

1шт.

|$8

78 678

WRENCH, SPANNER

1шт.

|$9

84 905

WRENCH, WHEEL LUG

1шт.

|$10

1287 470 H91

ADAPTER, TEST PORT TO ZERK

1шт.

Выбрано товаров: 0