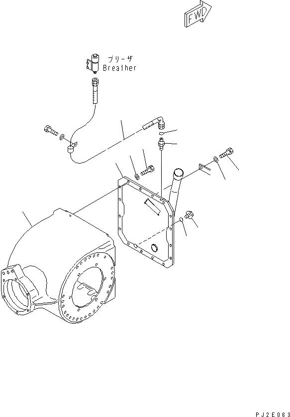
Запчасти Komatsu GD675-3 ЗАДН. МОСТ (КОНЕЧНАЯ ПЕРЕДАЧА) (ЦЕНТР. КОРПУС) (NO SПАЛЕЦ ДИФФЕРЕНЦ.)(№-) ТРАНСМИССИЯ

Схема запчастей Komatsu GD675-3 - ЗАДН. МОСТ (КОНЕЧНАЯ ПЕРЕДАЧА) (ЦЕНТР. КОРПУС) (NO SПАЛЕЦ ДИФФЕРЕНЦ.)(№-) ТРАНСМИССИЯ
1
2
3
4
5
5
6
7
8
9
10
FIT
1:1
100%

Артикул

Название

Примечание

Количество

1

23B-22-31112

CASE,CENTER

SN: 51001-UP

1шт.

2

23B-22-32360

COVER

SN: 51201-UP

1шт.

2

0

COVER

SN: 51001-51200

1шт.

3

01010-61235

BOLT

SN: 51001-UP

15шт.

4

01010-61240

BOLT

SN: 51001-UP

1шт.

5

01643-31232

WASHER

SN: 51001-UP

16шт.

6

07044-12412

PLUG

SN: 51001-UP

1шт.

7

07002-12434

O-RING

SN: 51001-UP

1шт.

8

02763-00215

HOSE

SN: 51001-UP

1шт.

9

56B-43-17210

NIPPLE

SN: 51001-UP

1шт.

10

02896-21008

O-RING

SN: 51001-UP

1шт.

Выбрано товаров: 11