Запчасти Komatsu SAA6D114E-2BB-VH КАРТЕР МАХОВИКА(№8-) ДВИГАТЕЛЬ

Схема запчастей Komatsu SAA6D114E-2BB-VH - КАРТЕР МАХОВИКА(№8-) ДВИГАТЕЛЬ
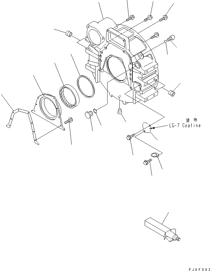
1
2
3
4
5
6
7
7
7
8
9
10
11
12
12
13
14
14
15
16
17
1
2
3
4
5
6
7
7
7
8
9
10
11
12
12
13
14
14
15
16
17
FIT
1:1
100%

Артикул

Название

Примечание

Количество

1

6743-21-4190

GASKET (K2)

SN: 26800425-UP

1шт.

2

6742-01-5053

COVER,REAR

SN: 26800425-UP

1шт.

3

6736-21-4220

SEAL,OIL (K2)

SN: 26800425-UP

1шт.

4

6732-21-4290

BOLT

SN: 26800425-UP

8шт.

5

6732-21-4171

GASKET (K2)

SN: 26800425-UP

1шт.

6

1267011H1

HOUSING,FLYWHEEL

SN: 26800425-UP

1шт.

7

6732-21-4220

BOLT

SN: 26800425-UP

12шт.

8

6732-21-4150

PLUG

SN: 26800425-UP

1шт.

9

6732-21-4161

O-RING (K2)

SN: 26800425-UP

1шт.

10

6732-11-1920

PLUG

SN: 26800425-UP

1шт.

11

6732-21-4130

PLATE

SN: 26800425-UP

1шт.

12

6735-21-4120

BOLT

SN: 26800425-UP

2шт.

13

6735-21-4250

CLIP

SN: 26800425-UP

1шт.

14

6735-21-4230

SCREW

SN: 26800425-UP

4шт.

|$18

6735-21-4150

PLUG

SN: 26800425-UP

1шт.

15

6735-21-4170

PLUG

SN: 26800425-UP

1шт.

16

6735-21-4160

O-RING (K2)

SN: 26800425-UP

1шт.

17

09920-00150

LIQUID GASKET,LG-7,150G

SN: 26800425-UP

-2шт.

1

6743-21-4190

GASKET (K2)

SN: 26800425-UP

1шт.

2

6742-01-5053

COVER,REAR

SN: 26800425-UP

1шт.

3

6736-21-4220

SEAL,OIL (K2)

SN: 26800425-UP

1шт.

4

6732-21-4290

BOLT

SN: 26800425-UP

8шт.

5

6732-21-4171

GASKET (K2)

SN: 26800425-UP

1шт.

6

1267011H1

HOUSING,FLYWHEEL

SN: 26800425-UP

1шт.

7

6732-21-4220

BOLT

SN: 26800425-UP

12шт.

8

6732-21-4150

PLUG

SN: 26800425-UP

1шт.

9

6732-21-4161

O-RING (K2)

SN: 26800425-UP

1шт.

10

6732-11-1920

PLUG

SN: 26800425-UP

1шт.

11

6732-21-4130

PLATE

SN: 26800425-UP

1шт.

12

6735-21-4120

BOLT

SN: 26800425-UP

2шт.

13

6735-21-4250

CLIP

SN: 26800425-UP

1шт.

14

6735-21-4230

SCREW

SN: 26800425-UP

4шт.

|$18

6735-21-4150

PLUG

SN: 26800425-UP

1шт.

15

6735-21-4170

PLUG

SN: 26800425-UP

1шт.

16

6735-21-4160

O-RING (K2)

SN: 26800425-UP

1шт.

17

09920-00150

LIQUID GASKET,LG-7,150G

SN: 26800425-UP

-2шт.

Выбрано товаров: 36