Запчасти Komatsu GD675-3A ГИДРОЛИНИЯ ТРАНСМИССИИ (бЛОК. ДИФФЕРЕНЦИАЛА ТИП) (ЕС NOISE REGULATION ARRANGEMENT ) (/)(№-) ТРАНСМИССИЯ

Схема запчастей Komatsu GD675-3A - ГИДРОЛИНИЯ ТРАНСМИССИИ (бЛОК. ДИФФЕРЕНЦИАЛА ТИП) (ЕС NOISE REGULATION ARRANGEMENT ) (/)(№-) ТРАНСМИССИЯ
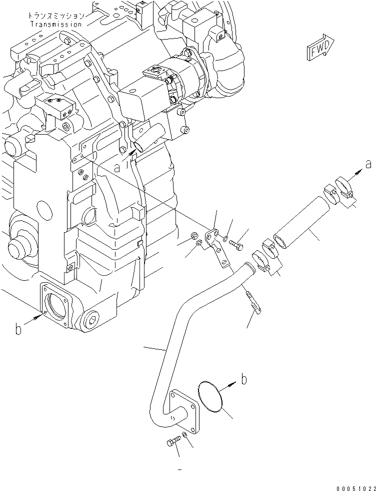
1
2
3
4
5
6
7
8
9
10
11
12
12
FIT
1:1
100%

Артикул

Название

Примечание

Количество

1

23B-16-31211

TUBE

SN: 11162-UP

1шт.

2

01010-81235

BOLT

SN: 11162-UP

4шт.

3

01643-31232

WASHER

SN: 11162-UP

4шт.

4

07000-12100

O-RING

SN: 11162-UP

1шт.

5

23B-16-31512

BRACKET

SN: 11162-UP

1шт.

6

01010-81025

BOLT

SN: 11162-UP

2шт.

7

01643-31032

WASHER

SN: 11162-UP

2шт.

8

07283-34346

CLIP

SN: 11162-UP

1шт.

9

01597-01009

NUT

SN: 11162-UP

2шт.

10

01643-31032

WASHER

SN: 11162-UP

2шт.

11

07260-04120

HOSE

SN: 11162-UP

1шт.

12

07289-00055

CLAMP

SN: 11162-UP

4шт.

Выбрано товаров: 12