Запчасти Komatsu GD675-3E0 ЗАДН. ПРИВОД МОСТ (СДВОЕНН. КОРПУС ПРАВ.) (NO SПАЛЕЦ ДИФФЕРЕНЦ.) ТРАНСМИССИЯ

Схема запчастей Komatsu GD675-3E0 - ЗАДН. ПРИВОД МОСТ (СДВОЕНН. КОРПУС ПРАВ.) (NO SПАЛЕЦ ДИФФЕРЕНЦ.) ТРАНСМИССИЯ
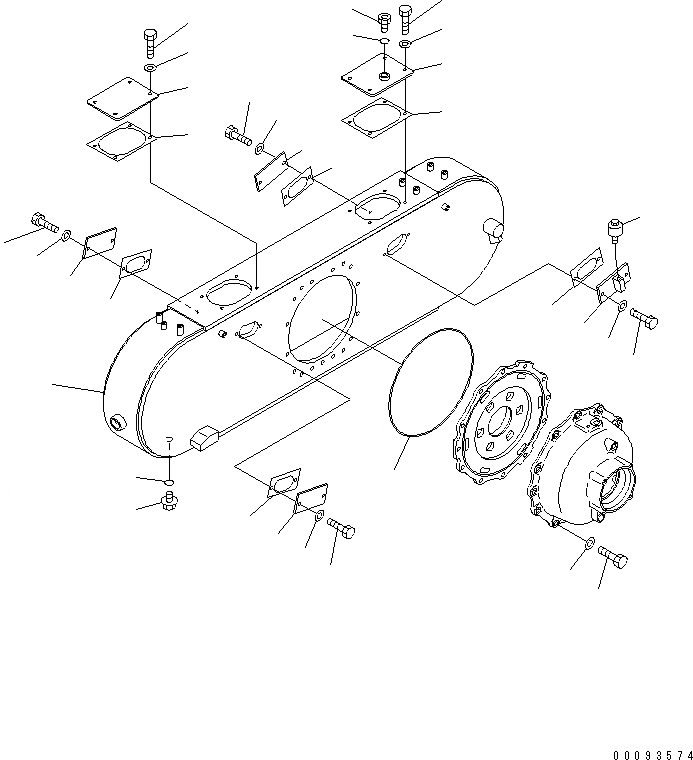
1
2
3
3
4
5
5
6
6
7
8
9
10
10
11
12
12
12
12
13
13
13
13
14
14
14
14
15
16
17
18
19
20
FIT
1:1
100%

Артикул

Название

Примечание

Количество

1

23B-25-31311

CASE,R.H.

SN: 51301-UP

1шт.

2

23A-23-11161

COVER

SN: 51301-UP

1шт.

3

238-23-16132

GASKET

SN: 51301-UP

2шт.

4

23A-25-31220

COVER

SN: 51301-UP

1шт.

5

01010-61230

BOLT

SN: 51301-UP

8шт.

6

01643-31232

WASHER

SN: 51301-UP

8шт.

7

07040-12412

PLUG

SN: 51301-UP

1шт.

8

07002-12434

O-RING

SN: 51301-UP

1шт.

9

238-23-11130

COVER

SN: 51301-UP

1шт.

10

232-25-51770

COVER

SN: 51301-UP

2шт.

11

238-25-16760

COVER

SN: 51301-UP

1шт.

12

238-23-11121

GASKET

SN: 51301-UP

4шт.

13

01010-61230

BOLT

SN: 51301-UP

8шт.

14

01643-31232

WASHER

SN: 51301-UP

8шт.

15

07030-00252

BREATHER

SN: 51301-UP

1шт.

16

07044-12412

PLUG

SN: 51301-UP

1шт.

17

07002-12434

O-RING

SN: 51301-UP

1шт.

18

07000-15460

O-RING

SN: 51398-UP

2шт.

19

01010-61660

BOLT

SN: 51398-UP

20шт.

20

01643-31645

WASHER

SN: 51398-UP

20шт.

Выбрано товаров: 20