Запчасти Komatsu GD705A-3 ГИДРАВЛИКА РУЛ. УПРАВЛЕНИЯ СИСТЕМА УПРАВЛЕНИЯ

Схема запчастей Komatsu GD705A-3 - ГИДРАВЛИКА РУЛ. УПРАВЛЕНИЯ СИСТЕМА УПРАВЛЕНИЯ
FIT
1:1
100%

Артикул

Название

Примечание

Количество

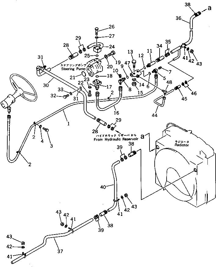
1

07108-20448

HOSE

SN: 10002-UP

1шт.

2

234-40-33370

CLIP

SN: 10002-UP

3шт.

3

01010-50816

BOLT

SN: 10002-UP

3шт.

4

01602-20825

WASHER

SN: 10002-UP

3шт.

5

234-40-33280

ELBOW

SN: 10002-UP

3шт.

6

234-40-33290

O-RING (KIT)

SN: 10002-UP

1шт.

7

07042-20108

PLUG

SN: 10002-UP

1шт.

8

234-40-33240

ELBOW

SN: 10002-UP

1шт.

9

234-40-33270

O-RING (KIT)

SN: 10002-UP

1шт.

10

07042-20108

PLUG

SN: 10002-UP

1шт.

11

234-40-33260

NIPPLE

SN: 10002-UP

1шт.

12

234-40-33270

O-RING (KIT)

SN: 10002-UP

1шт.

13

0

BOLT

SN: 10002-UP

2шт.

14

01602-20619

WASHER

SN: 10002-UP

2шт.

15

01580-10605

NUT

SN: 10002-UP

2шт.

16

07108-20608

HOSE

SN: 10002-UP

1шт.

17

234-40-33230

TUBE

SN: 10002-UP

1шт.

18

07000-23025

O-RING (KIT)

SN: 10002-UP

1шт.

19

01010-51030

BOLT

SN: 10002-UP

2шт.

20

01643-31032

WASHER

SN: 10002-UP

2шт.

21

07000-12085

O-RING (KIT)

SN: 10002-UP

1шт.

22

0

BOLT

SN: 10002-UP

4шт.

23

01602-20825

WASHER

SN: 10002-UP

4шт.

24

234-40-33220

TUBE

SN: 10002-UP

1шт.

25

07000-23035

O-RING (KIT)

SN: 10002-UP

1шт.

26

0

BOLT

SN: 10002-UP

4шт.

27

01602-21030

WASHER

SN: 10002-UP

4шт.

28

07260-23214

HOSE

SN: 10002-UP

2шт.

29

07281-00489

CLAMP

SN: 10002-UP

8шт.

30

234-40-33210

TUBE

SN: 10002-UP

1шт.

31

234-40-33360

CLIP

SN: 10002-UP

2шт.

32

01010-50816

BOLT

SN: 10002-UP

2шт.

33

01602-20825

WASHER

SN: 10002-UP

2шт.

34

07260-23214

HOSE

SN: 10002-UP

1шт.

35

07281-00489

CLAMP

SN: 10002-UP

4шт.

36

234-40-33310

TUBE

SN: 10002-UP

1шт.

37

234-40-33350

TUBE

SN: 10002-UP

1шт.

38

07260-23211

HOSE

SN: 10002-UP

3шт.

39

07281-00489

CLAMP

SN: 10002-UP

12шт.

40

234-40-33340

TUBE

SN: 10002-UP

1шт.

41

07283-23442

CLIP

SN: 10002-UP

4шт.

42

01643-31032

WASHER

SN: 10002-UP

8шт.

43

01599-01011

NUT

SN: 10002-UP

8шт.

44

234-40-33320

TUBE

SN: 10002-UP

1шт.

45

07260-21410

HOSE

SN: 10002-UP

1шт.

46

07281-00259

CLAMP

SN: 10002-UP

4шт.

47

234-40-32300

VALVE ASS'Y

SN: 10002-UP

1шт.

48

238-40-16160

ELBOW

SN: 10002-UP

1шт.

Выбрано товаров: 48