Запчасти Komatsu GD705A-3A СОЕД-Е ГИДРАВЛИКА

Схема запчастей Komatsu GD705A-3A - СОЕД-Е ГИДРАВЛИКА
FIT
1:1
100%

Артикул

Название

Примечание

Количество

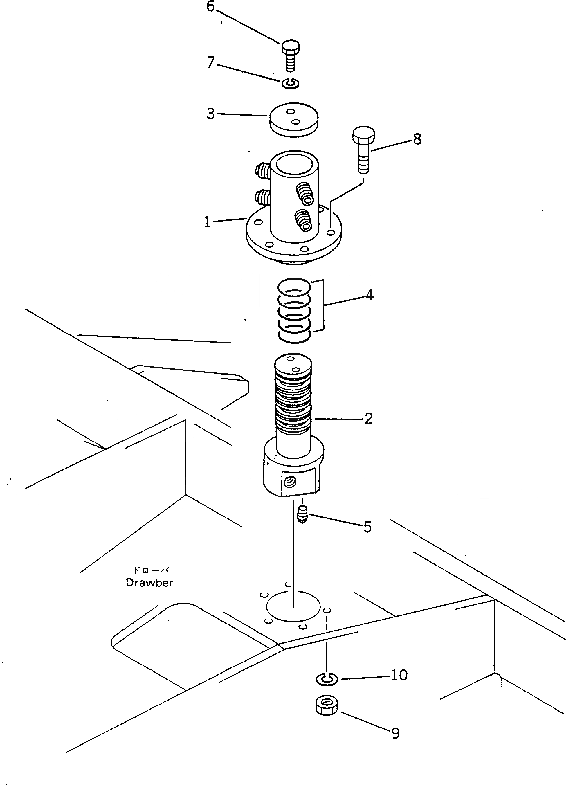
|1

232-735-0071

JOINT ASS'Y

SN: 10002-UP

1шт.

1

232-735-3110

BODY

SN: 10002-UP

1шт.

2

232-735-3120

FLANGE

SN: 10002-UP

1шт.

3

232-60-54730

PLATE

SN: 10002-UP

1шт.

4

07000-13050

O-RING

SN: 10002-UP

5шт.

5

07043-00211

PLUG

SN: 10002-UP

4шт.

6

01010-51225

BOLT

SN: 10002-UP

2шт.

7

01602-21236

WASHER

SN: 10002-UP

2шт.

8

01010-51250

BOLT

SN: 10002-UP

6шт.

9

01580-11210

NUT

SN: 10002-UP

6шт.

10

01602-21236

WASHER

SN: 10002-UP

6шт.

Выбрано товаров: 11