Запчасти Komatsu GD705A-3A ЯЩИК Д/ИНСТРУМЕНТА ОПЦИОННЫЕ КОМПОНЕНТЫ

Схема запчастей Komatsu GD705A-3A - ЯЩИК Д/ИНСТРУМЕНТА ОПЦИОННЫЕ КОМПОНЕНТЫ
FIT
1:1
100%

Артикул

Название

Примечание

Количество

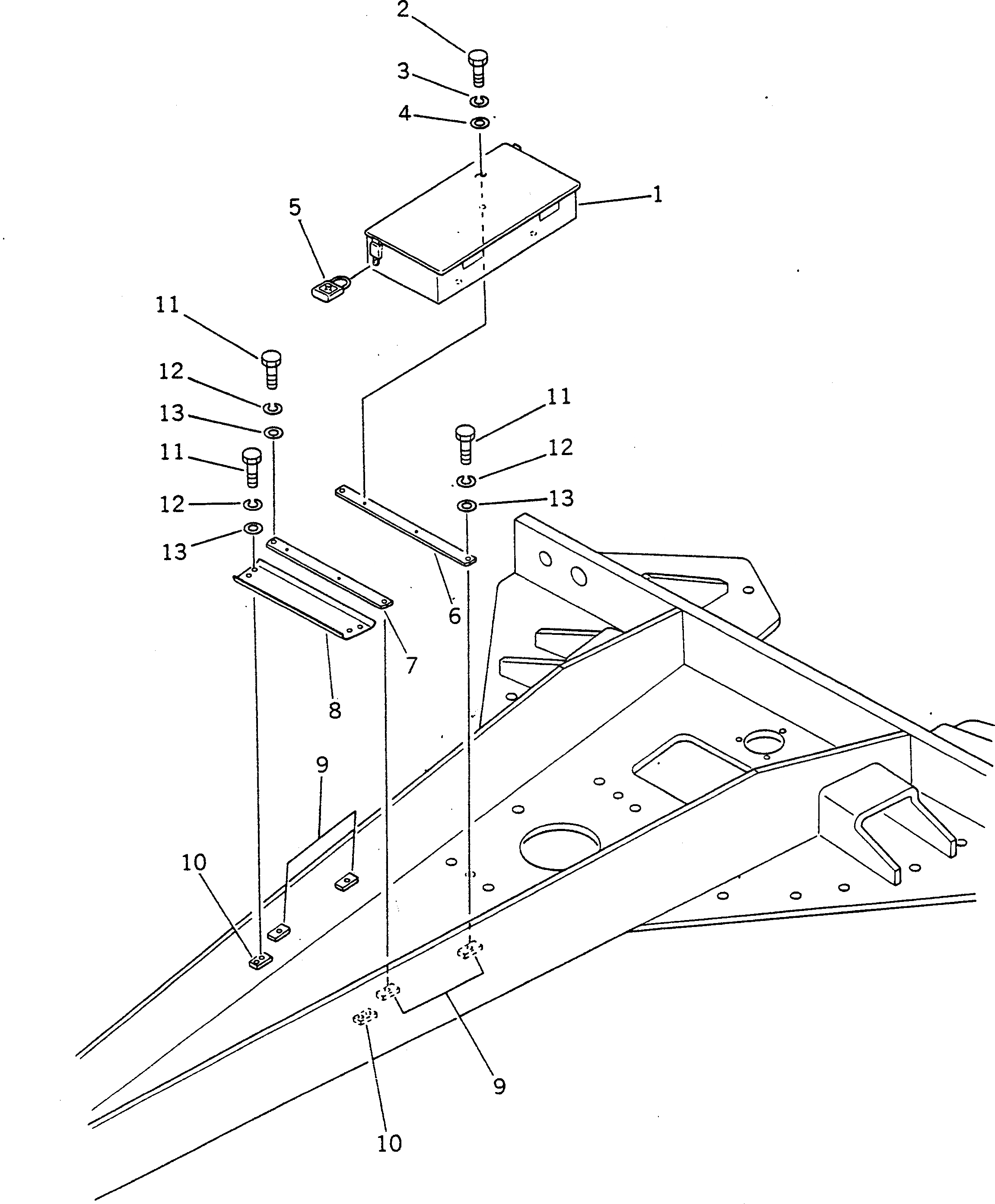
1

234-98-31110

BOX

SN: 10002-UP

1шт.

2

01010-50820

BOLT

SN: 10002-UP

4шт.

3

01602-20825

WASHER

SN: 10002-UP

4шт.

4

01643-30823

WASHER

SN: 10002-UP

4шт.

5

232-46-13310

PADLOCK

SN: 10002-UP

1шт.

6

234-98-31160

PLATE

SN: 10002-UP

1шт.

7

234-98-31170

PLATE

SN: 10002-UP

1шт.

8

234-98-31150

PLATE

SN: 10002-UP

1шт.

|9

234-98-31120

DRAWBAR,(MODIFIED PARTS)

SN: 10002-UP

1шт.

9

234-98-31130

SEAT (WELDED)

SN: 10002-UP

4шт.

10

234-98-31140

SEAT (WELDED)

SN: 10002-UP

2шт.

11

01010-50820

BOLT

SN: 10002-UP

8шт.

12

01602-20825

WASHER

SN: 10002-UP

8шт.

13

01643-30823

WASHER

SN: 10002-UP

8шт.

Выбрано товаров: 0