Запчасти Komatsu GD705A-3A ДИФФЕРЕНЦ. УПРАВЛ-Е ТРУБЫ СДВОЕНН. ПРИВОД И КОЛЕСА

Схема запчастей Komatsu GD705A-3A - ДИФФЕРЕНЦ. УПРАВЛ-Е ТРУБЫ СДВОЕНН. ПРИВОД И КОЛЕСА
FIT
1:1
100%

Артикул

Название

Примечание

Количество

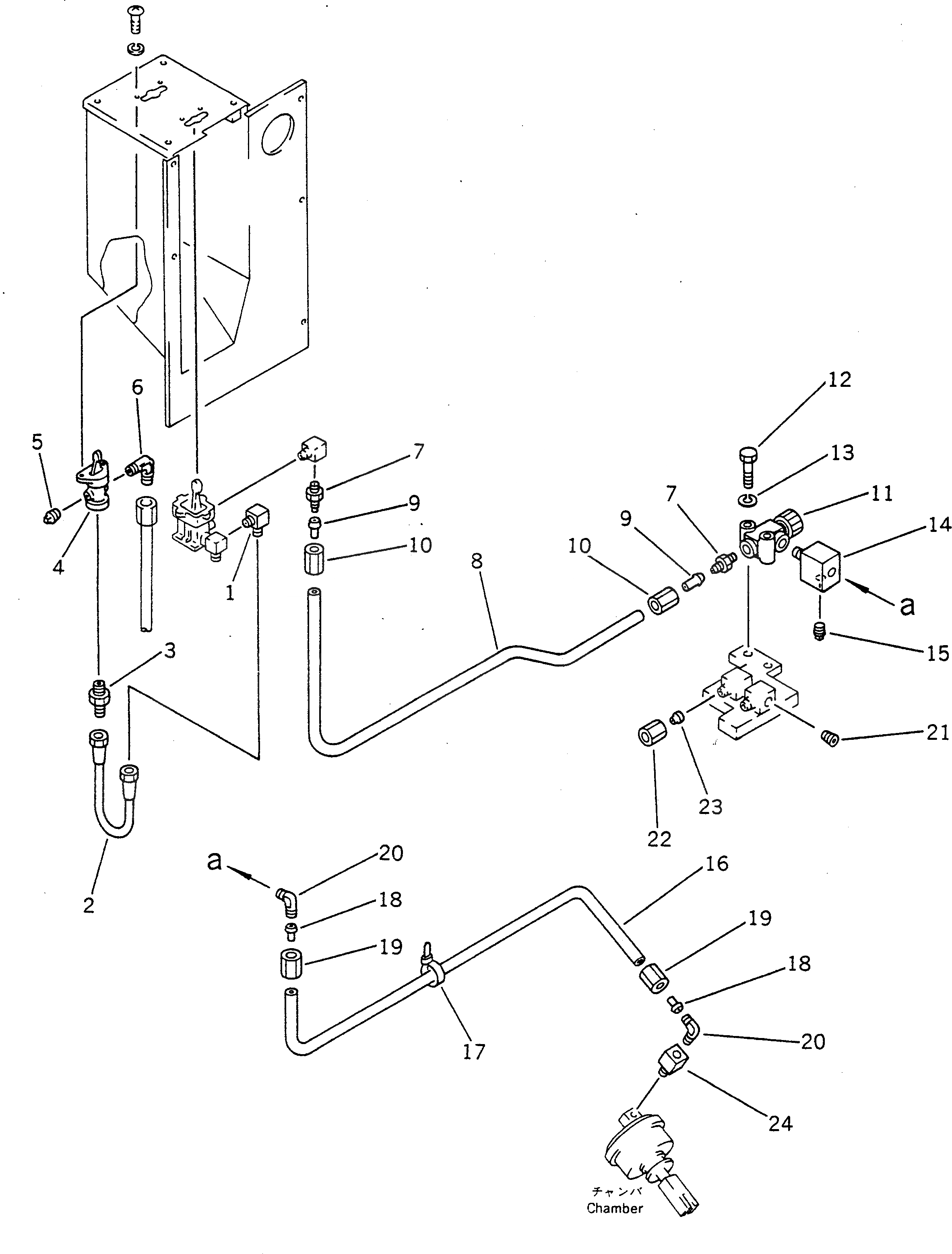
1

238-44-11350

ELBOW

SN: 10002-UP

1шт.

2

234-45-35170

TUBE

SN: 10002-UP

1шт.

3

07214-61013

CONNECTOR

SN: 10002-UP

1шт.

4

234-45-35180

VALVE

SN: 10002-UP

1шт.

5

07042-20211

PLUG

SN: 10002-UP

1шт.

6

07834-00413

ELBOW

SN: 10002-UP

1шт.

7

07836-00413

CONNECTOR

SN: 10002-UP

2шт.

8

07823-00414

TUBE

SN: 10002-UP

1шт.

9

07381-00411

SLEEVE

SN: 10002-UP

2шт.

10

07833-00410

NUT

SN: 10002-UP

2шт.

11

234-45-35230

VALVE

SN: 10002-UP

1шт.

12

01010-50650

BOLT

SN: 10002-UP

2шт.

13

01602-20619

WASHER

SN: 10002-UP

2шт.

14

234-45-35260

ELBOW

SN: 10002-UP

1шт.

15

07042-20108

PLUG

SN: 10002-UP

1шт.

16

07823-00412

TUBE

SN: 10002-UP

1шт.

17

08034-00414

BAND

SN: 10002-UP

1шт.

18

07831-00411

SLEEVE

SN: 10002-UP

2шт.

19

07833-00410

NUT

SN: 10002-UP

2шт.

20

07834-00410

ELBOW

SN: 10002-UP

2шт.

21

07043-00108

PLUG

SN: 10002-UP

3шт.

22

07221-20315

NUT

SN: 10002-UP

1шт.

23

07222-00312

PLUG

SN: 10002-UP

1шт.

24

234-45-35260

ELBOW

SN: 10002-UP

1шт.

Выбрано товаров: 24