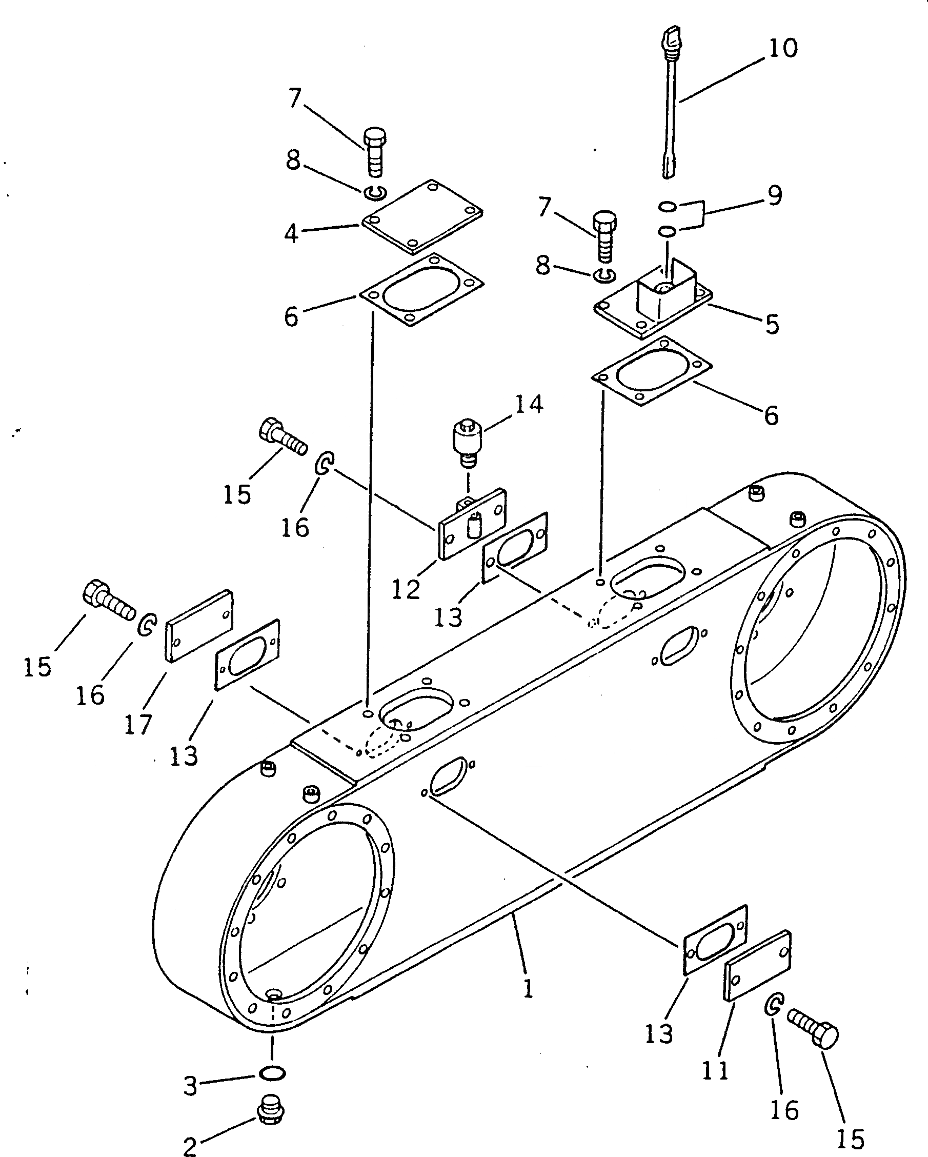
Запчасти Komatsu GD705A-3A КОРПУС СДВОЕННОГО ПРИВОДА СДВОЕНН. ПРИВОД И КОЛЕСА

Схема запчастей Komatsu GD705A-3A - КОРПУС СДВОЕННОГО ПРИВОДА СДВОЕНН. ПРИВОД И КОЛЕСА
FIT
1:1
100%

Артикул

Название

Примечание

Количество

|1

234-25-00130

TANDEM DRIVE ASS'Y,L.H.

SN: 10004-UP

1шт.

|1

0

TANDEM DRIVE ASS'Y,L.H.

SN: 10002-10003

1шт.

|1

234-25-00140

TANDEM DRIVE ASS'Y,R.H.

SN: 10004-UP

1шт.

|1

0

TANDEM DRIVE ASS'Y,R.H.

SN: 10002-10003

1шт.

1

234-25-31110

CASE

SN: 10004-UP

1шт.

|1

0

CASE

SN: 10002-10003

1шт.

2

07044-12412

PLUG

SN: 10002-UP

1шт.

3

07002-12434

O-RING (KIT)

SN: 10002-UP

1шт.

4

234-25-31120

COVER

SN: 10002-UP

1шт.

5

234-25-31520

COVER

SN: 10004-UP

1шт.

|5

0

COVER

SN: 10002-10003

1шт.

6

234-25-31140

GASKET (KIT)

SN: 10002-UP

2шт.

7

01010-51230

BOLT

SN: 10002-UP

8шт.

8

01602-21236

WASHER

SN: 10002-UP

8шт.

9

07002-12434

O-RING (KIT)

SN: 10002-UP

2шт.

10

234-25-31180

GAUGE

SN: 10002-UP

1шт.

11

234-25-31510

COVER

SN: 10004-UP

2шт.

|11

0

COVER

SN: 10002-10003

2шт.

12

234-25-31160

COVER

SN: 10002-UP

1шт.

13

234-25-31170

GASKET (KIT)

SN: 10002-UP

4шт.

14

07030-10252

BREATHER

SN: 10002-UP

1шт.

15

01010-51230

BOLT

SN: 10002-UP

8шт.

16

01602-21236

WASHER

SN: 10002-UP

8шт.

17

234-25-31150

COVER

SN: 10002-UP

1шт.

Выбрано товаров: 24