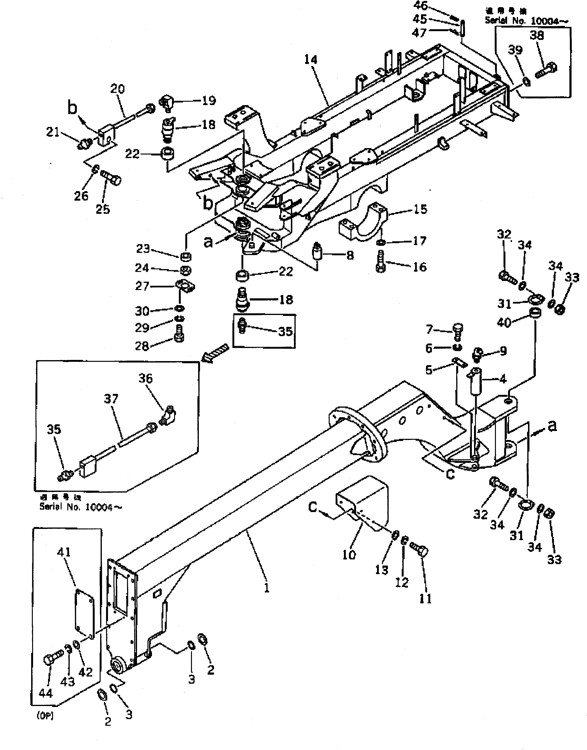
Запчасти Komatsu GD705A-3A РАМА РАМА И ЧАСТИ КОРПУСА

Схема запчастей Komatsu GD705A-3A - РАМА РАМА И ЧАСТИ КОРПУСА
FIT
1:1
100%

Артикул

Название

Примечание

Количество

1

234-46-31110

FRAME

SN: 10002-UP

1шт.

2

234-46-31280

BUSHING

SN: 10002-UP

2шт.

3

07000-15100

O-RING (KIT)

SN: 10002-UP

2шт.

4

234-46-31290

PIN

SN: 10002-UP

4шт.

5

04082-00206

LOCK

SN: 10002-UP

4шт.

6

01602-21236

WASHER

SN: 10002-UP

8шт.

7

01010-51225

BOLT

SN: 10002-UP

8шт.

8

232-45-13130

PIN

SN: 10002-UP

1шт.

9

07020-00900

FITTING

SN: 10002-UP

4шт.

10

234-46-31260

COVER

SN: 10002-UP

1шт.

11

01010-51020

BOLT

SN: 10002-UP

4шт.

12

01602-21030

WASHER

SN: 10002-UP

4шт.

13

01643-31032

WASHER

SN: 10002-UP

4шт.

14

234-46-32100

FRAME

SN: 10002-UP

1шт.

15

234-46-32581

CAP

SN: 10004-UP

2шт.

|15

234-46-32580

CAP

SN: 10002-10003

2шт.

16

01011-82455

BOLT

SN: 10004-UP

8шт.

|16

01011-82050

BOLT

SN: 10002-10003

8шт.

17

01643-32460

WASHER

SN: 10004-UP

8шт.

|17

01643-32060

WASHER

SN: 10002-10003

8шт.

18

232-46-54190

PIN

SN: 10002-UP

2шт.

19

232-46-54560

ELBOW

SN: 10002-UP

1шт.

20

232-46-54570

TUBE

SN: 10002-UP

1шт.

21

07020-00000

FITTING

SN: 10002-UP

1шт.

22

236-46-13380

BUSHING

SN: 10002-UP

2шт.

23

236-46-13390

BUSHING

SN: 10002-UP

2шт.

24

236-46-13410

NUT

SN: 10002-UP

2шт.

25

01010-51230

BOLT

SN: 10002-UP

1шт.

26

01602-21236

WASHER

SN: 10002-UP

1шт.

27

236-46-13420

PLATE

SN: 10002-UP

2шт.

28

01010-51630

BOLT

SN: 10002-UP

4шт.

29

01602-21648

WASHER

SN: 10002-UP

4шт.

30

01643-31645

WASHER

SN: 10002-UP

4шт.

31

236-46-13610

O-RING (KIT)

SN: 10002-UP

4шт.

32

236-46-13620

BOLT

SN: 10002-UP

4шт.

33

01598-10608

NUT

SN: 10002-UP

4шт.

34

01640-20610

WASHER

SN: 10002-UP

8шт.

35

07020-00000

FITTING

SN: 10002-UP

1шт.

36

232-46-54560

ELBOW

SN: 10004-UP

1шт.

37

232-46-54571

TUBE

SN: 10004-UP

1шт.

38

01010-52450

BOLT

SN: 10004-UP

10шт.

39

01643-32460

WASHER

SN: 10004-UP

10шт.

40

234-46-53210

BUSHING

SN: 10007-UP

2шт.

41

232-46-51350

PLATE

SN: 10007-UP

1шт.

42

01643-31232

WASHER

SN: 10007-UP

4шт.

43

01602-21236

WASHER

SN: 10007-UP

4шт.

44

01010-51225

BOLT

SN: 10007-UP

4шт.

45

232-46-11711

PIN

SN: 10002-UP

1шт.

46

04025-01065

PIN

SN: 10002-UP

1шт.

47

232-46-11920

PIN

SN: 10002-UP

1шт.

Выбрано товаров: 50