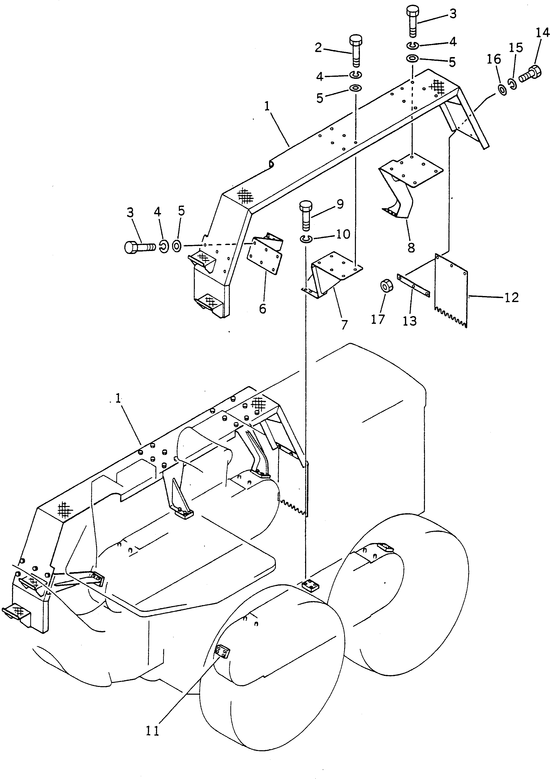
Запчасти Komatsu GD705A-3A ЗАДН. КРЫЛО РАМА И ЧАСТИ КОРПУСА

Схема запчастей Komatsu GD705A-3A - ЗАДН. КРЫЛО РАМА И ЧАСТИ КОРПУСА
FIT
1:1
100%

Артикул

Название

Примечание

Количество

|1

234-25-00040

FENDER ASS'Y,L.H.

SN: 10002-UP

1шт.

|1

234-25-00050

FENDER ASS'Y,R.H.

SN: 10002-UP

1шт.

1

234-25-31810

FENDER,L.H.

SN: 10002-UP

1шт.

|1

234-25-31820

FENDER,R.H.

SN: 10002-UP

1шт.

2

01010-51235

BOLT

SN: 10003-UP

6шт.

|2

01010-51435

BOLT

SN: 10002-10002

6шт.

3

01010-51230

BOLT

SN: 10003-UP

13шт.

|3

01010-51430

BOLT

SN: 10002-10002

12шт.

4

01602-21236

WASHER

SN: 10003-UP

19шт.

|4

01602-21442

WASHER

SN: 10002-10002

18шт.

5

01640-21223

WASHER

SN: 10003-UP

19шт.

|5

01640-21426

WASHER

SN: 10002-10002

18шт.

6

234-25-31850

BRACKET

SN: 10002-UP

1шт.

7

234-25-31860

BRACKET

SN: 10002-UP

1шт.

8

234-25-31830

BRACKET,L.H.

SN: 10002-UP

1шт.

|8

234-25-31840

BRACKET,R.H.

SN: 10002-UP

1шт.

9

01010-51430

BOLT

SN: 10002-UP

12шт.

10

01602-21442

WASHER

SN: 10002-UP

12шт.

11

234-25-31890

PLATE (WELDED)

SN: 10002-UP

3шт.

12

234-25-31910

FENDER

SN: 10002-UP

1шт.

13

234-25-31920

PLATE

SN: 10002-UP

1шт.

14

01010-50616

BOLT

SN: 10002-UP

3шт.

15

01602-20619

WASHER

SN: 10002-UP

3шт.

16

01640-20610

WASHER

SN: 10002-UP

3шт.

17

01580-10605

NUT

SN: 10002-UP

3шт.

Выбрано товаров: 25