Запчасти Komatsu GD705A-4 ПЕРЕДН. РАМА РАМА И ЧАСТИ КОРПУСА

Схема запчастей Komatsu GD705A-4 - ПЕРЕДН. РАМА РАМА И ЧАСТИ КОРПУСА
FIT
1:1
100%

Артикул

Название

Примечание

Количество

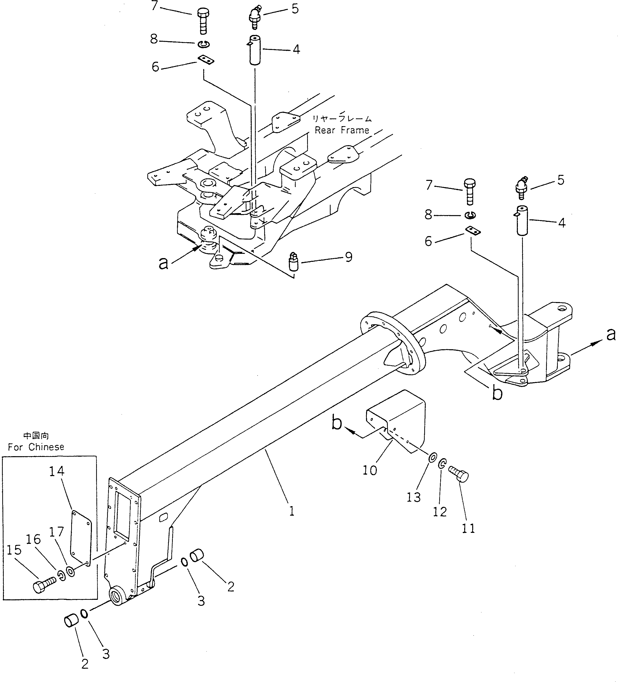
1

234-A46-1100

FRAME,FRONT

SN: 21001-UP

1шт.

2

234-46-31280

BUSHING

SN: 21001-UP

2шт.

3

07000-15100

O-RING

SN: 21001-UP

2шт.

4

234-46-31290

PIN

SN: 21001-UP

4шт.

5

07020-00675

FITTING,GREASE

SN: 21001-UP

4шт.

6

04082-00206

LOCK

SN: 21001-UP

4шт.

7

01010-51225

BOLT

SN: 21001-UP

8шт.

8

01602-21236

WASHER,SPRING (FOR CHINESE)

SN: 21001-UP

8шт.

8

01643-31232

WASHER,(FOR RUSSIAN)

SN: 21097-UP

8шт.

9

232-45-13130

PIN

SN: 21001-UP

1шт.

10

234-46-31261

COVER

SN: 21001-UP

1шт.

11

01010-51020

BOLT

SN: 21001-UP

4шт.

12

01602-21030

WASHER,SPRING (FOR CHINESE)

SN: 21001-UP

4шт.

12

01643-31032

WASHER,(FOR RUSSIAN)

SN: 21097-UP

4шт.

13

01643-31032

WASHER

SN: 21001-UP

4шт.

14

232-46-51350

PLATE,(FOR CHINESE)

SN: 21001-UP

1шт.

15

01010-51225

BOLT,(FOR CHINESE)

SN: 21001-UP

4шт.

16

01602-21236

WASHER,SPRING (FOR CHINESE)

SN: 21001-UP

4шт.

17

01643-31232

WASHER,(FOR CHINESE)

SN: 21001-UP

4шт.

Выбрано товаров: 19