Запчасти Komatsu GD705A-4 КАБИНА (/) (ДЛЯ РОССИЯ №97-)(№97-) РАМА И ЧАСТИ КОРПУСА

Схема запчастей Komatsu GD705A-4 - КАБИНА (/) (ДЛЯ РОССИЯ №97-)(№97-) РАМА И ЧАСТИ КОРПУСА
FIT
1:1
100%

Артикул

Название

Примечание

Количество

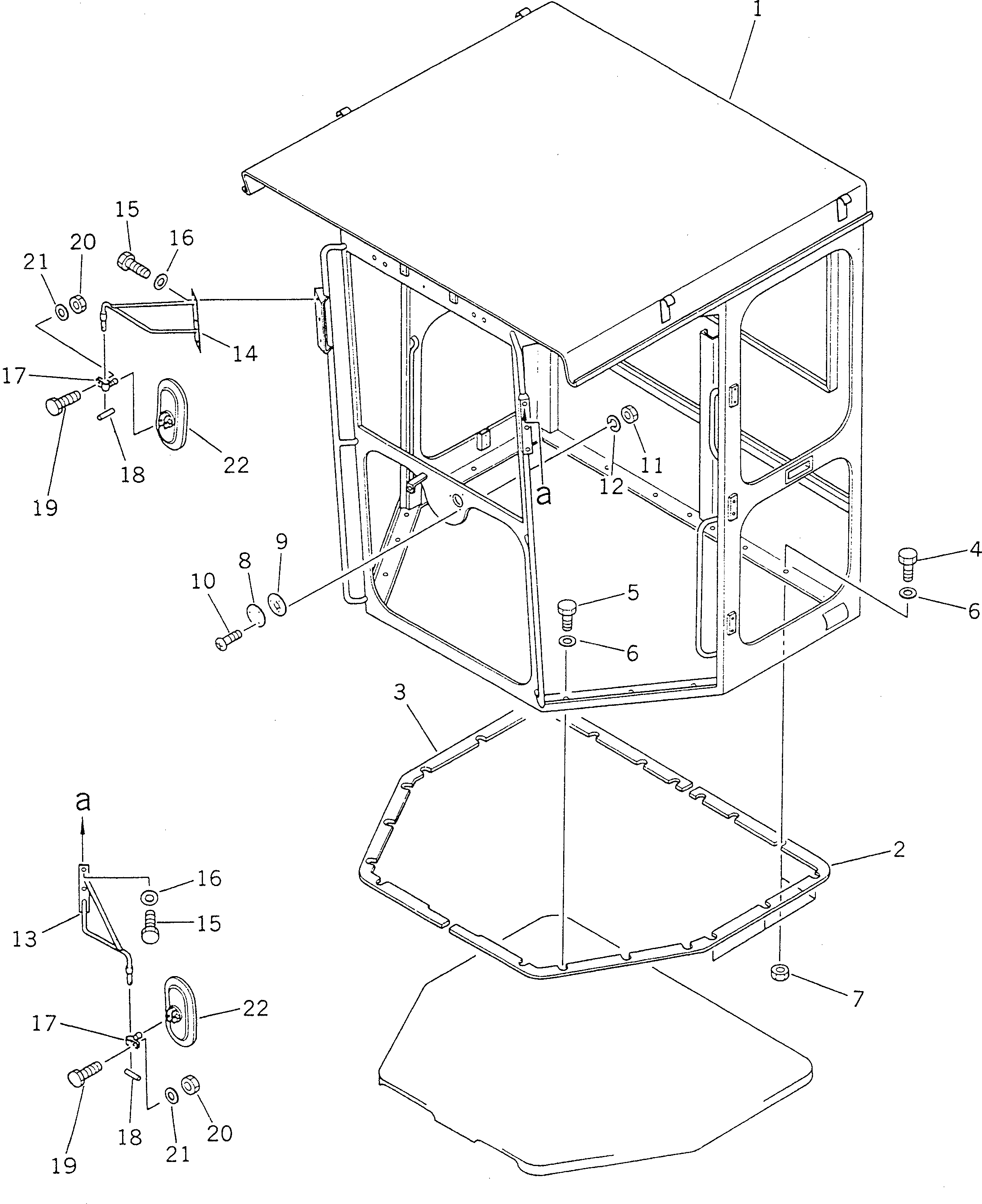
1

234-950-1110

CAB,STEEL

SN: 21097-UP

1шт.

2

234-950-2130

CUSHION

SN: 21097-UP

1шт.

3

234-950-2140

CUSHION

SN: 21097-UP

1шт.

4

01010-51230

BOLT

SN: 21097-UP

6шт.

5

01010-51260

BOLT

SN: 21097-UP

10шт.

6

01643-31232

WASHER

SN: 21097-UP

16шт.

7

01580-11210

NUT

SN: 21097-UP

8шт.

8

232-950-1130

PLATE

SN: 21097-UP

1шт.

9

232-955-2210

PACKING

SN: 21097-UP

1шт.

10

01220-40410

SCREW

SN: 21097-UP

3шт.

11

01580-10403

NUT

SN: 21097-UP

3шт.

12

01601-20410

WASHER,SPRING

SN: 21097-UP

3шт.

13

232-950-5151

BRACKET,L.H.

SN: 21097-UP

1шт.

14

232-950-5141

BRACKET,R.H.

SN: 21097-UP

1шт.

15

01010-51230

BOLT

SN: 21097-UP

6шт.

16

01643-31232

WASHER

SN: 21097-UP

6шт.

17

232-06-15151

PIVOT

SN: 21097-UP

2шт.

18

04025-00540

PIN,SPRING

SN: 21097-UP

2шт.

19

01010-50825

BOLT

SN: 21097-UP

2шт.

20

01580-10806

NUT

SN: 21097-UP

2шт.

21

01643-30823

WASHER

SN: 21097-UP

2шт.

22

08174-10001

MIRROR

SN: 21097-UP

2шт.

Выбрано товаров: 22