Качественные детали и логистика
Оригинальные и аналоговые запчасти с доставкой по России, Казахстану и Беларуси
©2022 PartSell ООО "Система" ИНН 2463123282 ОГРН 1212400004838
Центральный офис: г. Красноярск, Академика Киренского, д.87, пом.4
Телефон: 8 (800) 777-65-74 Email: zakaz@partsell.ru
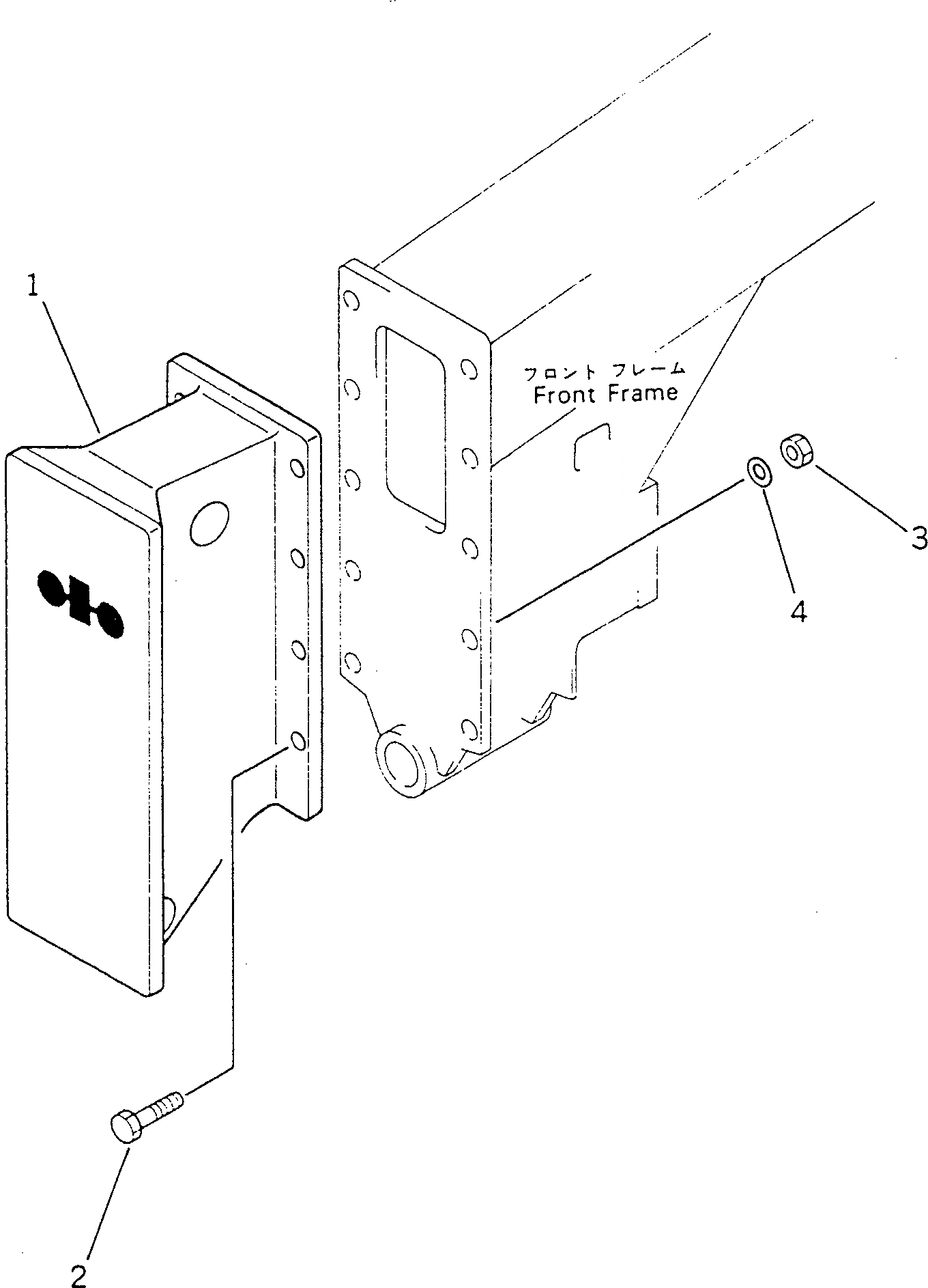
ПЕРЕДН. ГРУЗ (ДЛЯ РОССИЯ №97-)(№97-)
№
Артикул
Название
Примечание
Количество
1
234-930-3111
WEIGHT
SN: 21097-UP
1шт.
2
01011-52410
BOLT
8шт.
3
01580-12419
NUT
4
01643-32460
WASHER
16шт.
Выбрано товаров: 0