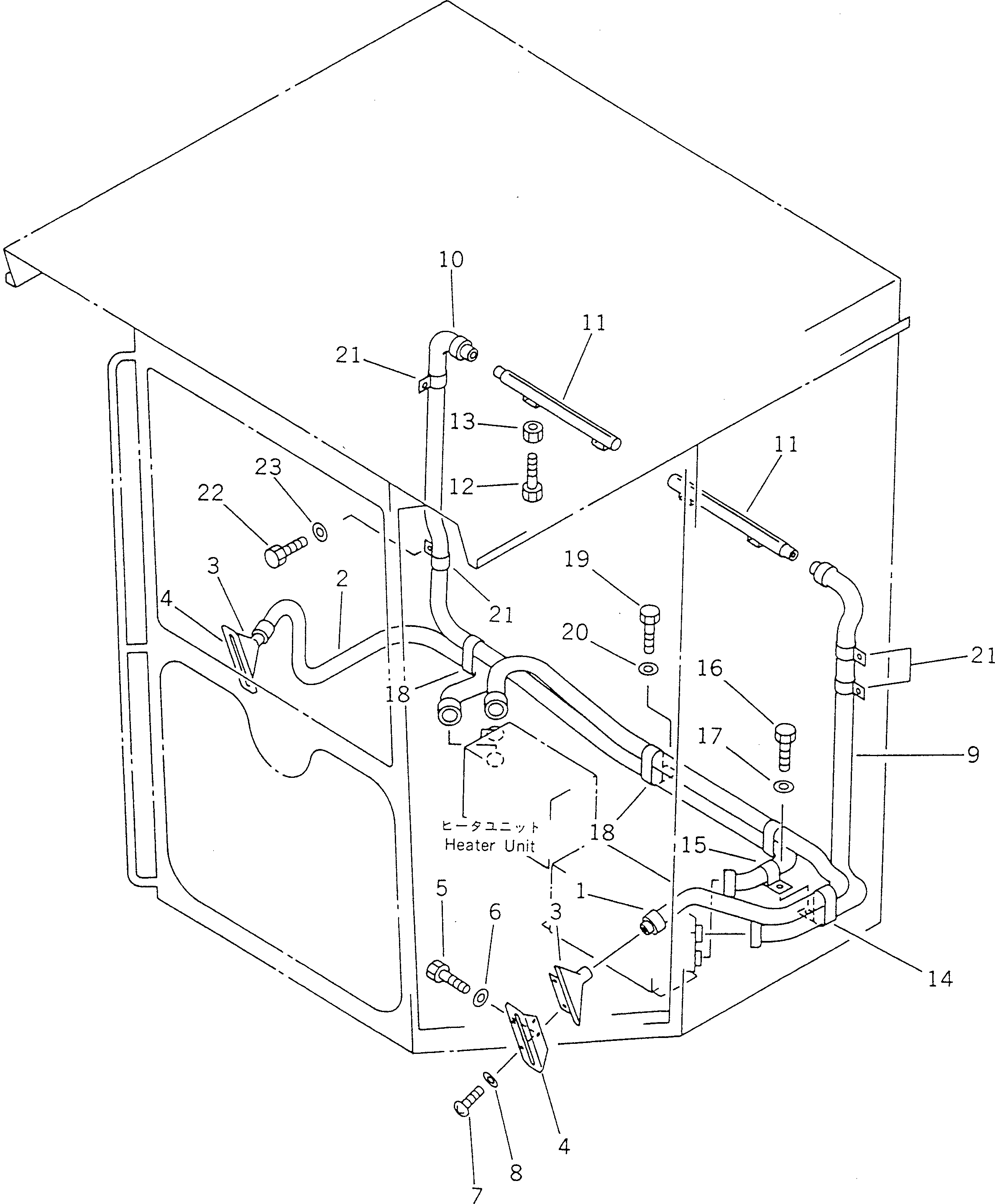
Запчасти Komatsu GD705A-4 ОБОГРЕВАТЕЛЬ. (/) (ДЛЯ РОССИЯ №97-)(№97-) РАМА И ЧАСТИ КОРПУСА

Схема запчастей Komatsu GD705A-4 - ОБОГРЕВАТЕЛЬ. (/) (ДЛЯ РОССИЯ №97-)(№97-) РАМА И ЧАСТИ КОРПУСА
FIT
1:1
100%

Артикул

Название

Примечание

Количество

1

234-807-9130

HOSE

SN: 21097-UP

1шт.

2

234-807-9140

HOSE,AIR, R.H.

SN: 21097-UP

1шт.

3

09486-10000

NOZZLE

SN: 21097-UP

2шт.

4

238-807-1230

BRACKET

SN: 21097-UP

2шт.

5

01010-50816

BOLT

SN: 21097-UP

4шт.

6

01643-30823

WASHER

SN: 21097-UP

4шт.

7

01220-40512

SCREW

SN: 21097-UP

4шт.

8

01641-20508

WASHER

SN: 21097-UP

4шт.

9

234-807-9110

HOSE,AIR, L.H.

SN: 21097-UP

1шт.

10

234-807-9120

HOSE

SN: 21097-UP

1шт.

11

237-807-3221

PIPE

SN: 21097-UP

2шт.

12

01010-50820

BOLT

SN: 21097-UP

4шт.

13

01580-10806

NUT

SN: 21097-UP

4шт.

14

232-807-1220

CLIP

SN: 21097-UP

1шт.

15

232-807-1550

CLIP

SN: 21097-UP

1шт.

16

01010-50820

BOLT

SN: 21097-UP

1шт.

17

01643-30823

WASHER

SN: 21097-UP

1шт.

18

232-807-1220

CLIP

SN: 21097-UP

3шт.

19

01010-51020

BOLT

SN: 21097-UP

3шт.

20

01643-31032

WASHER

SN: 21097-UP

3шт.

21

232-807-1550

CLIP

SN: 21097-UP

4шт.

22

01010-50812

BOLT

SN: 21097-UP

4шт.

23

01643-30823

WASHER

SN: 21097-UP

4шт.

Выбрано товаров: 23