Запчасти Komatsu GD705A-4 ПАНЕЛЬ ПРИБОРОВ (ПЕРЕДН.) (ДЛЯ РОССИЯ №97-)(№97-) КОМПОНЕНТЫ ДВИГАТЕЛЯ И ЭЛЕКТРИКА

Схема запчастей Komatsu GD705A-4 - ПАНЕЛЬ ПРИБОРОВ (ПЕРЕДН.) (ДЛЯ РОССИЯ №97-)(№97-) КОМПОНЕНТЫ ДВИГАТЕЛЯ И ЭЛЕКТРИКА
FIT
1:1
100%

Артикул

Название

Примечание

Количество

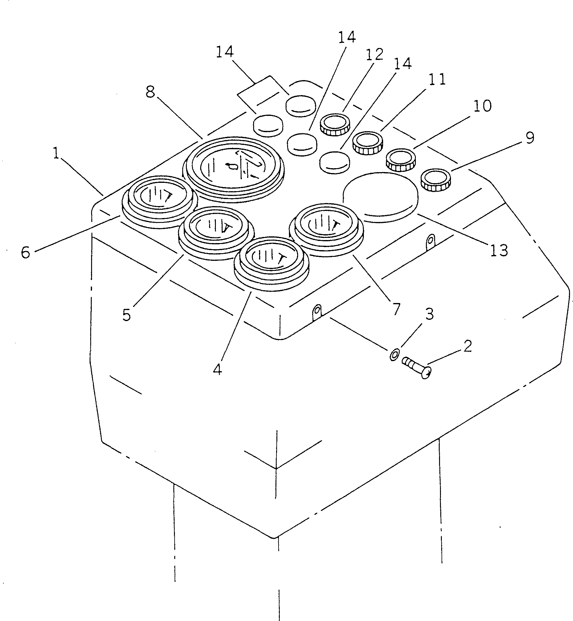
1

238-06-18530

PANEL

SN: 21097-UP

1шт.

2

01220-40612

SCREW

SN: 21097-UP

4шт.

3

01643-30623

WASHER

SN: 21097-UP

4шт.

4

232-06-52321

GAUGE,ENGINE OIL PRESSURE

SN: 21097-UP

1шт.

5

232-06-52340

GAUGE,WATER TEMPERATURE

SN: 21097-UP

1шт.

6

232-06-52360

GAUGE,FUEL

SN: 21097-UP

1шт.

7

238-06-15140

GAUGE,AIR PRESSURE

SN: 21097-UP

1шт.

8

234-06-31110

SPEEDOMETER

SN: 21097-UP

1шт.

9

08147-42463

LAMP,CHARGE

SN: 21097-UP

1шт.

10

08147-52430

LAMP,PARKING BRAKE

SN: 21097-UP

1шт.

11

08147-52422

LAMP,DIFFERENTIAL LOCK

SN: 21097-UP

1шт.

12

232-06-61710

LAMP,OIL TEMPERATURE

SN: 21097-UP

1шт.

13

232-06-57190

CAP

SN: 21097-UP

1шт.

14

09415-01610

CAP

SN: 21097-UP

4шт.

Выбрано товаров: 14