Запчасти Komatsu GD705A-4 ЭЛЕКТРИКА (ЛИНИЯ АККУМУЛЯТОРА) (ДЛЯ КИТАЙ №-) КОМПОНЕНТЫ ДВИГАТЕЛЯ И ЭЛЕКТРИКА

Схема запчастей Komatsu GD705A-4 - ЭЛЕКТРИКА (ЛИНИЯ АККУМУЛЯТОРА) (ДЛЯ КИТАЙ №-) КОМПОНЕНТЫ ДВИГАТЕЛЯ И ЭЛЕКТРИКА
FIT
1:1
100%

Артикул

Название

Примечание

Количество

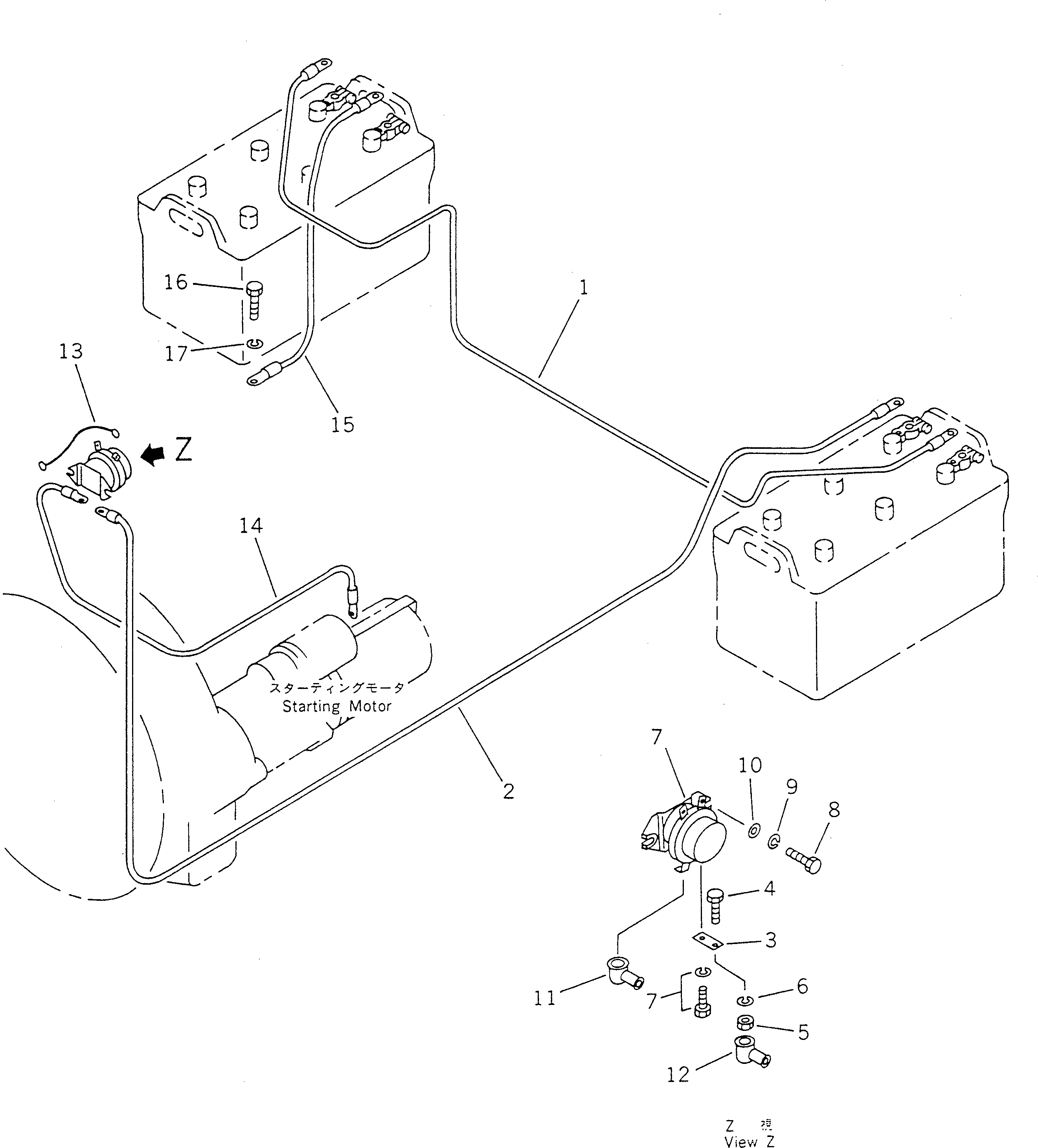
1

234-06-31590

CABLE,(60B)

SN: 21001-UP

1шт.

1

234-A06-1540

CABLE,(100B)

SN: 21001-UP

1шт.

2

232-06-51360

CABLE,(60B)

SN: 21001-UP

1шт.

2

234-A06-1550

CABLE,(100B)

SN: 21001-UP

1шт.

3

234-06-32240

PLATE

SN: 21001-UP

1шт.

4

01010-50820

BOLT

SN: 21001-UP

1шт.

5

01580-10806

NUT

SN: 21001-UP

1шт.

6

01602-20825

WASHER,SPRING

SN: 21001-UP

1шт.

7

237-06-15250

RELAY,BATTERY

SN: 21001-UP

1шт.

8

01010-50830

BOLT

SN: 21001-UP

2шт.

9

01602-20825

WASHER,SPRING

SN: 21001-UP

2шт.

10

01641-20812

WASHER

SN: 21001-UP

2шт.

11

08038-10035

CAP,TERMINAL

SN: 21001-UP

1шт.

12

232-06-11970

CAP,TERMINAL

SN: 21001-UP

1шт.

13

234-A06-1450

CABLE

SN: 21001-UP

1шт.

14

232-06-51110

CABLE,(60B)

SN: 21001-UP

1шт.

14

234-A06-1520

CABLE,(100B)

SN: 21001-UP

1шт.

15

234-06-31610

CABLE,(60B)

SN: 21001-UP

1шт.

15

234-A06-1530

CABLE,(100B)

SN: 21001-UP

1шт.

16

01010-51016

BOLT

SN: 21001-UP

1шт.

17

01602-21030

WASHER,SPRING

SN: 21001-UP

1шт.

Выбрано товаров: 21